基于FLUENT的深井掘进巷道局部通风参数优化
1.
2.
Optimization of Local Ventilation Parameters of Deep Mine Excavation Roadway Based on FLUENT
1.
2.
通讯作者:
收稿日期: 2022-01-19 修回日期: 2022-05-06
| 基金资助: |
|
Received: 2022-01-19 Revised: 2022-05-06
作者简介 About authors
郭对明(1992-),男,河北保定人,博士研究生,从事矿山安全与通风研究工作
关键词:
Keywords:
本文引用格式
郭对明, 李国清, 侯杰, 胡乃联.
GUO Duiming, LI Guoqing, HOU Jie, HU Nailian.
目前我国浅部矿产资源逐渐枯竭,深井开采成为未来矿山发展的必然趋势(谢和平等,2017)。相比浅部,深部开采难以解决的问题之一是井下的高温热害(古德生等,2012)。在地热梯度的作用下,原岩温度随着深度的增加而不断升高;空气由地表流入井下的过程中存在自压缩现象,该过程中空气会放出热量,使井下温度升高;井下巷道围岩和开采的矿石氧化,井下高温涌水,人员和机械设备等均会放热。这些构成了深井高温的主要热源,加剧了井下高温环境的恶劣程度。同时,由于深井通风线路长,独头巷道作业面通风效果不佳,以及地温梯度和井下热源(Zhang et al.,2021)的共同作用,导致深井掘进巷道热害问题日益严重。高温高湿环境不仅严重影响作业人员的健康,极易诱发安全事故(Sasmito et al.,2013),而且对设备和人员的工作效率产生影响(莫苏鹏等,2020;崔益源等,2021)。因此,提高通风降温效果对于改善井下热环境尤为重要。目前,治理深井高温热害的方法主要有非机械制冷降温技术和机械制冷降温技术(李猛等,2020)。机械制冷降温效果明显,但是由于其成本高,实施技术难度大,因此非机械制冷技术仍然是缓解井下高温的主要手段。对于深井掘进巷道而言,通风降温效果的关键在于确定合理的局部通风降温参数。由于浅部与深部环境有所区别,以往适用于浅部的通风原则和参数可能并不适用于深部掘进巷道通风。因此,优化深井局部通风降温参数从而得到适用于深井掘进巷道的局部通风降温参数成为亟需解决的问题。
通风参数优化的传统方法主要依靠现场试验,即通过不断调整通风参数进行试验,检查通风效果,该方法成本高且可重复性差,一定程度上制约了通风参数的优化效果。随着计算机技术的发展,数值模拟方法被应用于通风优化研究中,成为该领域重要的研究手段(Lowndes et al.,2004)。国外相关学者构建了多种成熟的数学模型并应用于井下空气流动特性研究(Torano et al.,2011;Kurnia et al.,2015),如三维计算流体力学(CFD)模型(Wala et al.,2007;Hargreaves et al.,2007)和一维传热模型等(Sasmito et al.,2015;Zhou et al.,2018;Candra et al.,2014)。Brodny et al.(2017)针对井下影响人员舒适性的微气候参数进行试验模拟,得到了相关模型和模拟结果。Zhou et al.(2019)研究了通风管道布置对降温效果的影响,并利用FLUENT对冷空气扩散如何影响井下环境温度进行了数值模拟,对比了单管通风与双管通风的降温效果。我国学者利用CFD技术对通风系统开展了研究。杜翠凤等(2016)和曹亚平(2021)利用FLUENT对高温掘进巷道的风流速度场和温度场分布进行了模拟,研究了不同参数对风流温度的影响。辛嵩等(2020)通过CFD软件对不同出风口与迎头断面之间的距离和抽压比进行了数值模拟,获得了降温效果最佳的通风系统。孙勇等(2012)在矿井通风和计算流体力学理论的基础上,利用数值模拟软件对压入式通风进行了模拟,模拟结果表明提高入风量可以降低巷道温度,但风量过大时,降温效果反而会降低。李艳波等(2011)利用Airpak软件对掘进作业面围岩与风流的热交换过程进行了模拟,分析了抽出式通风条件下风流流场和温度场的特征。龙腾腾等(2008)基于CFD理论,利用数值模拟技术对掘进巷道内气流的速度场和温度场进行了计算,为高温掘进巷道通风方式的选取提供了指导。
综上所述,目前关于井下高温热害方面的研究大多集中在热源分析、风流流场和温度场变化等方面(李勇等,2014)。然而,在对温度场的相关模拟研究中,由于所构建的模型范围较小,对空气流动有所限制,从而导致研究结果与实际存在差异。
鉴于此,为了保证研究结果的可靠性,本文以国内某大型地下金属矿山为背景,根据井下掘进巷道实际数据构建与巷道真实长度相同的三维模型,确保了空气在巷道内充分扩散,使风流流动情况更符合实际情况,避免了因模型长度过短导致空气传播受限而造成研究结果存在较大误差的现象。通过数值模拟与现场试验相结合的方法,分析深井掘进巷道空气温度的分布规律,探究降温效果最优的局部通风参数,为缓解该矿山深部开采作业面高温热害提供理论指导。
1 现场温度测量
经过多年的持续开采利用,国内某大型地下金属矿山逐渐进入深部开采阶段。该矿山当前生产能力为10 000 t/d,主要生产区域集中在-960 m以上,井下空气温度大多超过28 ℃,部分区域接近31 ℃,随着开采深度的增加,热害问题将更加严重。本文选取该矿山-945 m水平的一条掘进巷道作为研究对象,对该掘进巷道内的空气温度进行测量。该掘进巷道长度60 m,宽度3.6 m,高度3.6 m。
1.1 温度测点选取
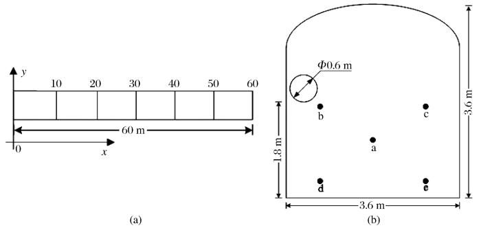
为分析掘进巷道的温度变化情况,以掘进巷道入口处为始点沿巷道长度间隔10 m均匀选取温度断面,依次记为0,10,20,30,40,50,60 m,每个断面选取5个温度点,分别记作a、b、c、d和e,如图1所示。通过比较各个温度点的温度情况,得到最佳的通风参数。
图1
图1
巷道断面(a)及温度测点布置(b)示意图
Fig.1
Schematic diagram of roadway section (a) and temperature survey point layout (b)
1.2 测量方案设计
制定现场温度测量方案,对掘进巷道温度进行现场测量与分析,了解巷道实际温度分布特征,同时为后续数值模拟结果验证、确保数值模拟结果的可靠性奠定基础。本方案中选定的季节为夏季,测温仪器选用SW-6036型高精度测风仪,以设置的若干测点为基础对巷道温度进行测量,为保证数据的准确性,对每个测点温度进行3次测量,取其平均值作为最终结果,先后测量无局部通风条件和有局部通风条件下各测点的温度。
1.3 实测结果分析
通过测量无局部通风条件下各测点的温度,得到巷道风温分布情况,见表1。由表1可知,在无局部通风条件下该巷道温度较高,未能满足《金属非金属矿山安全规程》(GB16423-2020)(国家市场监督管理总局等,2020)规定的人员连续作业场所湿球温度不高于27 ℃的要求。在无通风条件下,由于作业面附近岩石暴露时间短,未被风流冷却,导致岩石放热量较多。同时,由于没有风流作用,使得作业面附近的热量聚集,从而出现作业面附近局部温度高于其他地点温度的现象;随着测点与作业面的距离增大,测点温度逐渐降低,如测点a,原因是掘进巷道入口与运输巷道联通,在运输巷道风流的作用下巷道入口气压小于掘进巷道内部气压,使得入口附近的空气流入运输巷道,高温风流排出,导致温度逐渐下降。此外,同一截面上由于热空气密度小,聚集在巷道上部,从而导致b、c测点的温度高于d、e测点的温度。
表1 无局部通风情况下巷道风温分布
Table 1
| 截面编号 | 风温/℃ | ||||
|---|---|---|---|---|---|
| 测点a | 测点b | 测点c | 测点d | 测点e | |
| 60 | 30.6 | 30.7 | 30.7 | 30.5 | 30.6 |
| 50 | 30.5 | 30.6 | 30.8 | 30.3 | 30.4 |
| 40 | 30.3 | 30.5 | 30.5 | 30.3 | 30.2 |
| 30 | 30.1 | 30.3 | 30.3 | 30.2 | 30.1 |
| 20 | 30.0 | 30.1 | 30.2 | 29.9 | 30.0 |
| 10 | 29.8 | 30.0 | 30.0 | 29.7 | 29.7 |
| 0 | 29.8 | 29.8 | 29.9 | 29.5 | 29.5 |
2 模型构建与条件假设
2.1 模型构建
根据选取的掘进巷道实际尺寸,将巷道上部简化为拱形,利用ANSYS FLUENT数值模拟软件构建掘进巷道的物理模型,如图2所示。
图2
2.2 网格划分
根据模型特点,对巷道模型进行网格划分。由于非结构化网格对不规则几何边界有较好的适应性,可以有效处理边界层问题,所以在网格划分时采用非结构化网格进行离散,网格元素主要使用四面体网格。经划分,网格数量共为653 647个,划分结果如图3所示。
图3
图3
掘进巷道横截面与侧面网格划分
Fig.3
Mesh division of cross section and side of heading roadway
2.3 条件假设
(1)掘进巷道风流假设。由于井下条件复杂多变,导致巷道内风流流动复杂,为了简化模型作如下假设:①将掘进巷道内风流流动过程看作不可压缩流体运动,忽略流体因黏性力而引起的耗散热;②风流流动为稳态紊流,具有各向同性,紊流黏性系数看作标量,满足Boussinesq假设;③风流的各个组分之间没有反应(Wei et al.,2019;张瑞明等,2019)。
风流在掘进巷道内流动满足能量守恒、动量守恒和质量守恒三大定律,三大定律均反映了单位体积物理量在单位时间内的守恒特性,其通用形式为
式中:ρ为气体密度(kg/m3);φ为通用变量,代表浓度C、速度 v 和温度T等,u为速度矢量(m/s);Γ为广义扩散系数;S为广义源项。
(2)掘进巷道围岩假设。巷道围岩结构复杂,且围岩温度受多因素影响,导致井巷围岩与井下风流之间的热交换十分复杂(张瑞明等,2018),因此,结合现场实际作如下假设:不同巷道断面尺寸对围岩与空气的热交换产生影响,但是由于巷道开挖范围较小,断面尺寸对热交换影响很小,因此假设围岩在巷道断面的各个方向具有均匀传热的性质。为避免由于矿岩性质不同导致的围岩传热效果不一,假设在热交换过程中,巷道围岩均质且具有各向同性。由于井下开采会导致有裂隙渗水,另外井下除尘过程中的喷雾会对巷道热量产生影响,因此假设巷道围岩散热量全部传递到风流中,且同一深度的原岩温度分布均匀。
3 基于FLUENT的掘进面通风数值模拟与参数优化
3.1 初始条件参数
表2 初始条件和相关参数
Table 2
| 序号 | 参数 | 具体数值或描述 |
|---|---|---|
| 1 | 风流入口 | 风筒出口 |
| 2 | 风流出口 | 巷道入口 |
| 3 | 巷道壁面传热系数/(W·m-2·K-1) | 15 |
| 4 | 速度类型 | 绝对速度 |
| 5 | 求解器 | 稳态求解器 |
| 6 | 湍流模型 | realizable k-ε模型 |
| 7 | 出口类型 | 自由出口 |
| 8 | 巷道壁面 | 无滑移 |
| 9 | 入口风速/(m·s-1) | 20 |
| 10 | 入风温度/℃ | 24 |
| 11 | 围岩温度/℃ | 34.5 |
3.2 掘进巷道数值模拟
图4
图4
巷道温度分布(a)与各截面温度分布(b)
Fig.4
Distribution of tunnel temperature(a) and temperature of each section(b)
图5
图5
压入式通风条件下风流分布(a)与温度变化曲线(b)
Fig.5
Air flow distribution(a) and temperature change curves(b) under pressure ventilation conditions
由图5可以看出,与无局部通风条件时相比,压入式通风起到了明显的降温作用,在低温风流的作用下巷道内温度由原来的30 ℃左右下降到26 ℃以下。由温度变化曲线可以看出,压入式通风过程中巷道温度以风筒出口为分界,分别沿作业面和巷道出口方向温度逐渐升高,在风口出口附近温度最低,这是因为低温风流在出风口处未与巷道空气发生热交换,降温效果最好,随着与出风口位置距离的增加,低温风流温度逐渐升高,降温效果下降。在50 m(出风口)至60 m(掘进作业面)之间各点的温度变化不稳定,由风流分布可以看出,风流由出风口到达作业面后受到作业面的阻挡,流动方向发生改变,流向巷道出口方向(即x轴负向),在出风口和作业面之间与x轴正向风流相遇并形成明显的涡流区域,导致风流急剧紊乱,因此在风筒口与作业面之间的风流温度分布较为混乱。此外,风流从50 m(出风口)流动至0 m(巷道出口)的过程中主要集中在巷道中间以及靠近巷道上部位置,因此导致靠近巷道底部的热空气排出效率不高,出现底部温度高于其他位置的现象。
3.3 深井掘进巷道局部通风参数优化
为了缓解深部开采井下高温热害对作业人员的影响,从风温、风量、风筒架设高度和出风口位置4个方面对局部通风参数进行优化。通过模拟可以得到各测点沿巷道的温度数据,优化过程中将各测点的温度取平均值作为参数选取的判断依据,通过现场测量得到该巷道空气相对湿度为83%,《金属非金属矿山安全规程》(GB16423-2020)(国家市场监督管理总局等,2020)要求湿球温度不超过27 ℃,结合空气湿度将其折算为干球温度约为29 ℃,因此将目标值设置为29 ℃。
(1)风温参数优化。在分析风温对巷道温度场的影响时,保持入口速度为20 m/s、风筒高度为1.8 m,出风口距离作业面为10 m的前提下,选取入风温度为20,22,24,26 ℃,分别进行模拟,对比不同入风温度下掘进巷道内的温度场分布情况。各截面平均温度随入风温度的变化曲线如图6所示,由图6可以看出,随着入风温度的降低,各截面平均温度均有所下降,且不同温度下巷道平均温度整体变化趋势一致。但随着入风温度的升高,巷道内不同位置的温差逐渐减少。当入风温度为20 ℃时,巷道内各截面平均温度的最大温差为2.06 ℃;当入风温度上升至26 ℃时,巷道内各截面平均温度的最大温差下降至1.6 ℃。此外,当入风温度为26 ℃时,巷道最高平均温度为27.86 ℃,满足设置的目标值。由于局部通风机运行过程中产生一定的能耗,入风温度越低则耗能越多,且温度越低,与围岩发生的热交换越多,因此综合考虑通风降温经济性与降温效果,选取最佳入风温度为26 ℃。
图6
图6
不同入风温度条件下各截面平均温度变化
Fig.6
Change in average temperature of each section under different inlet air temperature conditions
(2)风量参数优化。风量是影响井下通风降温效果的关键参数,确定局部通风的最佳通风量不仅对井下作业面降温有重要作用,而且对局部通风风机选型和通风成本控制有重要影响。
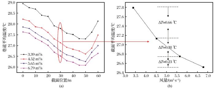
在风筒直径确定的情况下,风速决定了风量大小,因此在确定最佳入风温度的前提下,研究不同风量对掘进巷道温度场的影响时选取风速为12,16,20,24 m/s,对应的入风量为3.39,4.52,5.65,6.79 m3/s。对比不同风量下巷道内温度场的分布情况,取各巷道截面测点温度平均值进行比较,即可得到温度变化曲线和不同风量条件下X=30 m断面温差,如图7所示。
图7
图7
不同通风风量条件下各截面平均温度变化(a)及X=30 m断面温差(b)
Fig.7
Change in average temperature of each section(a) and temperature difference of X=30 m section(b) under different ventilation air volume conditions
由图7可以看出,不同通风量条件下各截面平均温度的变化趋势一致,随着风量的增加,巷道温度逐渐降低,相对于风温对巷道温度的影响,温度随着风量的增加其降低幅度较小,当风量为3.39 m3/s时,巷道平均温度最高为28.94 ℃,满足设置的目标值,因此选取最佳通风量为3.39 m3/s,此时入风风速为12 m/s。另外,由X=20 m处的断面温差可以看出,随着入风量的增加,温差由0.66 ℃减小至0.23 ℃,表明当通过提高风量进行通风降温时,随着风量的增加,降温效率逐渐下降。
(3)风筒高度优化。风筒高度的变化会导致局部通风入风风流产生不同的运动轨迹,从而影响降温效果。在不影响井下生产作业的前提下,确定最佳的风筒架设高度,对缓解掘进巷道高温情况起到重要作用。在确定最佳入风温度和风量的前提下,将风筒架设高度分别设置为距离巷道底板1.6,1.8,2.0,2.2 m,并以巷道各截面平均温度作为参考,比较不同条件下巷道截面平均温度变化情况,通过模拟得到温度变化曲线,如图8所示。
图8
图8
不同风筒架设高度条件下各截面平均温度变化
Fig.8
Change in average temperature of each section under different duct erection heights conditions
由图8可以看出,不同情况下巷道各截面平均温度沿巷道长度的变化趋势一致,且随着风筒架设高度的变化各截面平均温度变化不明显,不同风筒高度条件下平均温差极差约为1 ℃,因此得出风筒的架设高度对巷道降温的影响较小。当风筒架设高度为1.6 m和1.8 m时,巷道各截面平均温度均满足目标要求,且风筒高度为1.6 m时,巷道温度比风筒高度为1.8 m时下降幅度小于0.5 ℃。考虑到井下生产作业时,风筒架设过低会影响作业人员和车辆正常通行,因此选取最佳风筒架设高度为1.8 m。
(4)出风口位置优化。风筒出口距作业面的距离不仅对作业面通风降温有重要作用,同时也是通风降尘过程中的关键因素,为了保证降温除尘效果,安全规程中要求风筒出口与作业面的距离不得大于10 m。因此,在风量为3.39 m3/s、风温为26 ℃、风筒架设高度为1.8 m的前提下,设置出风口与作业面距离分别为10,9,8,7 m,分析不同出风口位置对巷道温度的影响情况,并以各个截面平均温度作为参考,分析不同条件下截面平均温度的变化情况,通过模拟得到温度变化曲线,如图9所示。由图9可以看出,与入风温度、入风量和风筒高度相比,出风口位置对巷道温度的影响最小,不同出风口位置条件下,巷道平均温度极差约为0.7 ℃。随着出风口与作业面的距离减小,各截面平均温度呈下降趋势,当出风口与作业面的距离为10 m时,巷道平均温度最高为28.94 ℃,满足目标要求。
图9
图9
出风口距作业面不同距离条件下各截面平均温度变化
Fig.9
Change in average temperature of each section under different distances from the air outlet to the working face
在降温效果分析的基础上,结合不同条件下风流流线图(图10),可以看出随着出风口距作业面距离的减小,在作业面附近形成的涡流更加明显,这会导致作业面附近的风流紊乱程度增加,不利于污浊的热空气排出。因此,综合考虑降温和排污效果,选取出风口距作业面的最佳距离为9 m,此时巷道平均温度最高为28.78 ℃,满足设置的目标值。
图10
图10
出风口距作业面不同距离条件下巷道风流流线图
Fig.10
Airflow streamline diagram of roadway under different distances from air outlet to working face
4 数值模拟结果验证
图11
图11
实测温度与模拟温度对比图(测点d和e)
Fig.11
Comparison diagram of measured temperature and simulated temperature(points d and e)
表3 各测点实测温度与模拟温度对比
Table 3
| 截面 位置/m | 测点a | 测点b | 测点c | 测点d | 测点e | |||||
|---|---|---|---|---|---|---|---|---|---|---|
| 实测值 | 模拟值 | 实测值 | 模拟值 | 实测值 | 模拟值 | 实测值 | 模拟值 | 实测值 | 模拟值 | |
| 0 | 26.200 | 26.336 | 26.100 | 26.266 | 26.400 | 26.496 | 26.500 | 26.636 | 26.700 | 26.886 |
| 10 | 25.900 | 26.216 | 25.800 | 26.076 | 26.000 | 26.376 | 26.100 | 26.316 | 26.300 | 26.266 |
| 20 | 26.100 | 26.252 | 26.100 | 26.392 | 26.200 | 26.412 | 26.200 | 26.402 | 26.200 | 26.372 |
| 30 | 26.300 | 26.276 | 26.100 | 26.416 | 26.300 | 26.436 | 26.200 | 26.526 | 26.500 | 26.586 |
| 40 | 26.100 | 26.312 | 26.200 | 26.452 | 26.400 | 26.422 | 26.400 | 26.662 | 26.600 | 26.712 |
| 50 | 26.200 | 26.328 | 26.500 | 26.468 | 26.200 | 26.438 | 26.400 | 26.778 | 26.700 | 26.718 |
| 60 | 26.300 | 26.340 | 26.300 | 26.480 | 26.400 | 26.450 | 26.700 | 26.840 | 27.000 | 26.810 |
综上所述,通过对掘进巷道有无局部通风条件下温度分布情况进行比较可知,局部通风对缓解深部高温热害问题具有显著作用。通过模拟结果与实测数据的对比,证明了利用ANSYS FLUENT进行数值模拟结果的可靠性。根据实际情况对影响巷道温度场变化的因素进行分析,确定了入风量、风温、风筒架设高度和出风口位置4个影响因素并分别针对4个因素进行模拟。优化过程中将前面的优化结果作为之后优化过程的确定参数,保证了参数优化的延续性,通过模拟得到了适用于深部掘进巷道的局部通风参数,在确保局部通风系统降温效果良好的同时,还考虑了通风系统的经济、节能和安全。最终优化参数如表4所示。
表4 局部通风参数优化结果
Table 5
| 参数 | 优化结果 | 解决的问题 |
|---|---|---|
| 风温/℃ | 26 | 确定考虑降温经济性的最佳入风温度 |
| 风量/(m3·s-1) | 3.39 | 确定节约能源前提下的最佳风量 |
| 风筒高度/m | 1.8 | 确定安全性和降温效果的最佳风筒高度 |
| 出风口位置/m | 9 | 确定排污效果和降温效果最佳的出风口位置 |
5 结论
为改善深部开采井下作业面的高温热害问题,以国内某大型地下金属矿山为研究对象,利用数值模拟技术对深井掘进巷道局部通风参数进行了优化,得到以下结论:
(1)利用FLUENT软件构建了井下掘进巷道的三维模型,并对巷道风流进行数值模拟,模拟结果可以较为准确、直观地反映风流流动规律及温度分布特征。在此基础上,对风量、风温、风筒高度和出风口位置4个参数进行优化,参数优化后的降温效果能满足设置的目标值且适用于深井掘进巷道局部通风。研究结果表明,数值模拟与试验验证相结合的方法是科学有效的,改善了单纯依靠试验的传统方法具有的成本高和重复性低的缺点。
(2)通过对数值模拟结果进行验证,得到了模拟结果与实测温度的最大温差小于0.5 ℃,表明通过数值模拟得到的结果是可靠的,该方法可用于通风参数优化相关研究。
(3)通过对各通风参数进行对比,得出各通风参数对巷道平均温度的影响程度排序为入风温度>入风量>风筒高度>出风口位置,且当其他参数不变时,通风降温效率随着入风量的增加逐渐降低。
http://www.goldsci.ac.cn/article/2022/1005-2518/1005-2518-2022-30-5-753.shtml
参考文献
Analysis of influence of the air conditioning on the air parameters in underground mine workings
[C]//
Dust dispersion and management in underground mining faces
[J].
Numerical simulation study on influencing factors of ventilation and cooling in mine horizontal roadway
[J].
Research progress of analysis and control technology of heat stress in deep mine
[J].
Numerical simulation of ventilation and cooling in excavation roadway and analysis of influencing factors
[J].
Development theme of modern metal mining
[J].
The computational modeling of the ventilation flows within a rapid development drivage
[J].
Introduction and evaluation of a novel hybrid brattice for improved dust control in underground mining faces:A computational study
[J].
Analysis of common existing of high temperature mine operation area and discussion on cooling technology
[J].
Study on numerical simulation of thermal environment on heading face with extraction local ventilation
[J].
Numerical simulation of airflow and temperature field in excavation roadway
[J].
A simulated study on the ventilation effect of the heading face based on PMV index
[J].
The ventilation and climate modelling of rapid development tunnel drivages
[J].
Investigation on the distribution law of high temperature heat damage in a mine in Guangxi
[J].
Some approaches to improve ventilation system in underground coal mines en-vironment—A computational fluid dynamic study
[J].
Computational evaluation of thermal management strategies in an underground mine
[J].
Numerical simulation of thermal environment of ventilation for mine roadway heading face based on fluent software
[J].
Auxiliary ventilation in mining roadways driven with roadheaders:Validated CFD modelling of dust behaviour
[J].
Mine face ventilation:A comparison of CFD results against benchmark experiments for the CFD code validation
[J].
Influencing factors and correlation analysis of ventilation and cooling in deep excavation roadway
[J].
Novel idea and disruptive technologies for the exploration and research of deep earth
[J].
Influence of different ventilation parameters on cooling of driving face
[J].
Numerical simulation study on optimization of spray cooling mode in high temperature operation
[J].
Experimental study on ventilation and cooling in excavation roadway
[J].
Ventilation and cooling test and numerical simulation in excavation roadway
[J].
Study of the influence of ventilation pipeline setting on cooling effects in high-temperature mines
[J].
The influence of ventilation arrangement on the mechanism of dust distribution in Woxi Pithead
[J].
矿井水平巷道通风降温影响因素数值模拟研究
[J].
深井热害分析与控制技术研究进展
[J].
掘进巷道通风降温的数值模拟及影响因素分析
[J].
现代金属矿业的发展主题
[J].
高温矿井作业区域共性分析与降温技术探讨
[J].
抽出式局部通风掘进面热环境数值模拟研究
[J].
掘进巷道风流流场和温度场数值模拟
[J].
基于PMV指标的掘进巷道通风效果的数值模拟
[J].
广西某矿井高温热害分布规律调查研究
[J].
基于Fluent的掘进工作面通风热环境数值模拟
[J].
深地科学领域的若干颠覆性技术构想和研究方向
[J].
不同通风参数对掘进工作面降温的影响
[J].
掘进巷道通风降温试验研究
[J].
掘进巷道通风降温试验及数值模拟研究
[J].
/
| 〈 |
|
〉 |


甘公网安备 62010202000672号