基于FLUENT的深井掘进巷道局部通风参数优化 |
| 郭对明,李国清,侯杰,胡乃联 |
|
Optimization of Local Ventilation Parameters of Deep Mine Excavation Roadway Based on FLUENT |
| Duiming GUO,Guoqing LI,Jie HOU,Nailian HU |
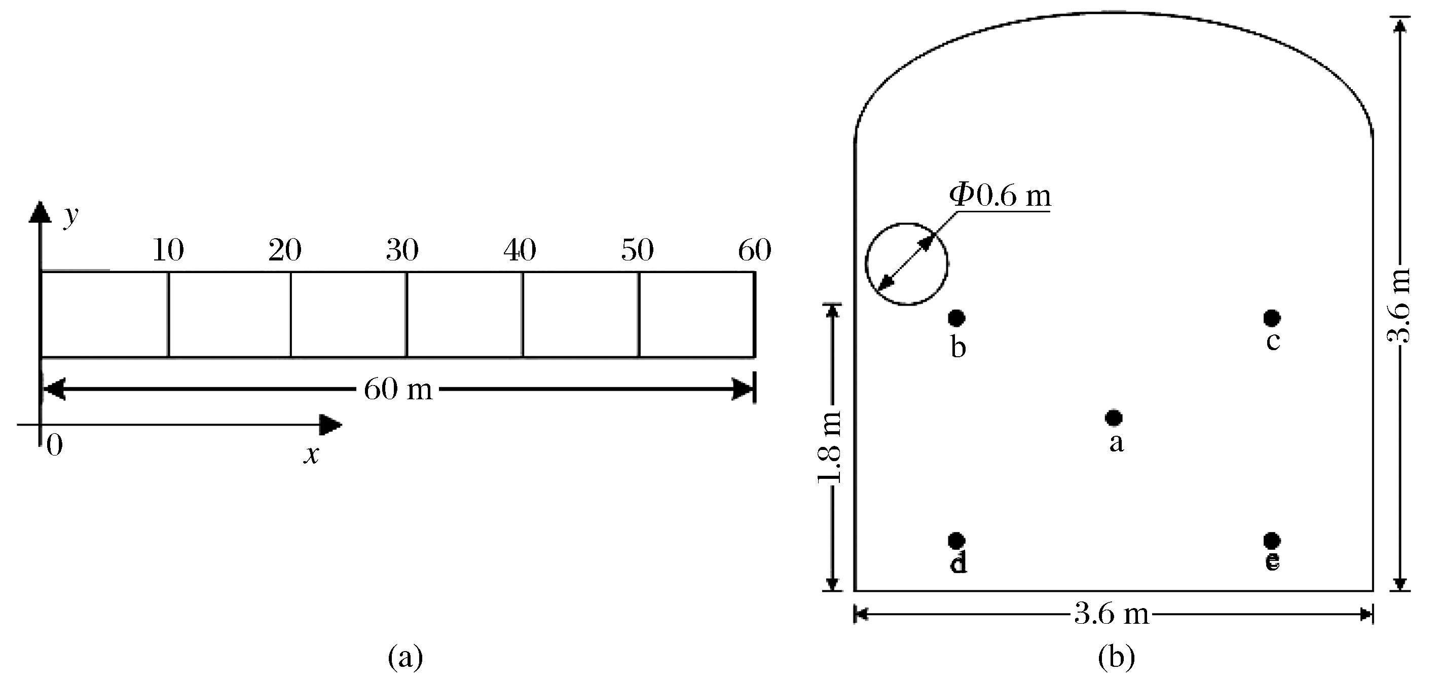
| 图1 巷道断面(a)及温度测点布置(b)示意图 |
| Fig.1 Schematic diagram of roadway section (a) and temperature survey point layout (b) |
|