基于链式变精度粗糙模糊集采场内因火灾分析
Analysis of Internal-caused Fire in the Stopes Based on Chain Variable Preci-sion Rough Fuzzy Set
收稿日期: 2021-09-14 修回日期: 2021-11-13
| 基金资助: |
|
Received: 2021-09-14 Revised: 2021-11-13
作者简介 About authors
杨珊(1983-),男,湖北监利人,副教授,从事矿业经济与采矿系统工程研究工作
关键词:
Keywords:
本文引用格式
杨珊, 袁鸣珂, 苏凯俊, 徐梓桐.
YANG Shan, YUAN Mingke, SU Kaijun, XU Zitong.
根据矿山火灾引发因素的不同,将矿山火灾划分为外因火灾和内因火灾。其中,外因火灾是由外部热源引起的火灾,内因火灾是矿山内部物质达到一定条件引起自燃而引发的火灾。内因火灾因引火源存在于矿山内部物质中,无法像外因火灾可以通过安全培训、防火设施配置来降低风险甚至避免,因而内因火灾对矿山安全生产而言具有更大的危害(许春明等,2008;王坪龙,1999)。而采场因空间受限,人员设备密集,矿石资源集中,发生内因火灾之后人员伤亡和经济损失巨大,因此内因火灾备受矿山管理人员和科技工作者的关注。实际上,采场内因火灾对于矿山安全生产的危害包括自燃起火与火灾后果2个层面。如果能够对采场内因火灾或火灾后果进行科学准确的分析,找出可靠的采场内因火灾自燃起火和火灾后果规律,不仅可以准确预测采场内因火灾的发生,而且可以提前预估采场内因火灾的后果,做到提早防范应对。因此,开展矿山采场内因火灾分析,对于指导矿山安全生产及提高矿山企业效益具有重要意义。
采场内因火灾一般是由含硫矿岩引起的,矿岩中的碳也会助长内因火灾自燃起火趋向,此外,矿岩周围的氧气浓度、湿度、矿层厚度和采矿技术条件等均会对内因火灾自燃起火产生影响(Wu et al.,2005;李鹏飞,2010)。而采场内因火灾造成的危害又与矿岩含碳量、环境氧气浓度及采场作业人员数量等因素有关。由此可见,采场内因火灾自燃起火与火灾后果之间存在相同影响因素。只有采场内因起火之后,才会造成人员伤亡和财产损失等火灾后果,因此采场内因火灾自燃起火与火灾后果之间存在明显的链式因果关系。因此,对于采场内因火灾的自燃起火与火灾后果进行系统化全面分析是一项比较复杂的工作。近年来,研究人员主要通过分析内因火灾和火灾后果等相关影响因素,对矿山自燃的危险性进行评价,但主要依靠经验来做决策,没有统一的量化标准,评价结果与实际情况存在较大偏差,缺乏科学性。也有学者利用灰色预测法、粗糙模糊集等方法对矿山火灾概率进行预测,大幅提高了预测结果的可靠性。实际上,矿山火灾发生与火灾结果严重程度均是矿山安全生产需要考虑的范畴,仅对火灾发生进行预测得到的规律,无法完全满足矿山安全管理的需要。矿山自燃及其后果严重性均为概率性不确定结果,对于此类概率性不确定问题,粗糙模糊集具有较强的分析处理能力。粗糙模糊集是粗糙集与模糊集的一种杂合理论(Zhang,2010;吴顺详,2009;罗凯等,2014)。当知识库中的知识模块都是清晰概念,而被近似的概念或输出类别具有病态边界,输入模式集合的不可分辨关系与输出类别的模糊性同时出现,此时需要利用粗糙模糊集进行研究(刘勇等,2013;陈建宏等,2011)。而变精度粗糙模糊集是在粗糙模糊集的基础上得到进一步发展,在变精度粗糙模糊集中,近似空间是清晰的,决策属性是模糊的(菅利荣,2008;李蒙蒙等,2016)。
鉴于采场内因火灾自燃起火与火灾后果的影响因素之间存在共有交叉,自燃起火与火灾后果存在因果关联,且采场内因火灾起火自燃和火灾后果均为概率性事件,创新性地采用嵌套相关的链式粗糙模糊集对采场内因火灾进行链式关联的概率性不确定分析(袁修久等,2006)。首先将采场矿岩自燃起火的影响因素与自燃起火的概率进行粗糙模糊集分析(汪凌等,2009),得到采场内因起火的不确定概率规则。然后将采场内因火灾后果的影响因素与后果严重程度的概率性不确定结果进行粗糙模糊集分析,得到采场内因火灾后果的不确定概率性规律。根据采场内因火灾自燃起火与火灾后果之间的共有影响指标及因果链式关系,将采场内因火灾的起火规律与火灾后果规律进行融合归并,最终得到采场内因火灾概率性的链式关联粗糙模糊集规律分析结果。相比传统的确定性分析方法,链式粗糙模糊集对采场内因火灾的分析结果具有概率模糊性和链式因果关联特征(张文修等,2005;刘同明,2001;王国胤,2001),分析过程贴合自然推理过程,分析维度全面立体,结果更加科学合理,是对采场内因火灾全面系统的分析。
1 系统建模
1.1 影响因素分析
(1)矿石含硫量c1。根据矿山工作经验,当矿石含硫量在15%以上时就有自燃起火的可能;当含硫量在40%~50%之间时,自燃起火危险性最大。硫化矿石中含硫量的高低,往往是决定硫化矿石氧化速度快慢的主要因素,含硫量越高,矿石越有可能自燃。
(2)矿石含碳量c2。根据一些矿山开采实践,硫化矿石自燃与含碳量密切相关,碳实际上是矿石自燃与燃烧的可燃物质,在矿石自燃中扮演着初始可燃物的角色。含碳量越高,矿石自燃可能性也就越大。
(3)氧气浓度c3。任何物质燃烧都离不开氧气,很显然,采场矿石自燃也必须有氧气的存在。除此之外,在硫化矿石氧化聚集热量时,也有氧气的参与,因此认为氧气浓度越高,采场矿石越倾向自燃。
(4)采场湿度c4。经研究,确定湿度对矿石自燃起火有一定的影响,但是影响机理比较复杂,环境中的水分既可以增加硫化矿石的氧化活性,又可以对矿石降温隔氧阻滞其燃烧,因此湿度对于矿石自燃起火的影响是复杂且多向的。
(5)矿石温度c5。在其他条件相同的情况下,矿石温度升高一倍,氧化反应速度亦成倍增加,从而加剧硫化矿石氧化放热,更容易引发采场内因火灾。
(6)矿石堆放时间c6。矿石采动后在采场堆放时间越长,硫化矿石氧化反应越充分,所散发的热量越多,越容易引起采场硫化矿石的自燃。
(1)采场人员数量c7。在采场内因火灾发生后,采场内的人员数量将与火灾后的伤亡人数有很大关联,直接影响到火灾后果的严重性。一般来说,采场内工作人员越多,发生火灾后伤亡的人员数量就会越大,火灾后果就越倾向严重。
(2)采场空间大小c8。采场火灾造成的人员伤亡除了与采场内人员数量相关外,采场空间大小也会对火灾后果产生影响。当采场内人员数量一定时,采场空间越小,烟气浓度越高,越难逃生,突发火灾时受伤人员就会越多,火灾后果就越倾向严重。
(3)采场矿层厚度c9。采场矿层厚度对火灾后果的影响主要偏重于资源损失与经济损失。当采场发生内因火灾之后,矿层厚度越大,火灾烧损矿石资源就越多,矿山经济损失就越严重。
(4)氧气浓度c3。采场氧气浓度越高,越有助于火灾燃烧蔓延,火灾后果也就越严重。
(5)矿石含碳量c2。矿石中的碳物质不仅是采场内因火灾的初始可燃物,也是支持采场内因火灾继续蔓延的助燃物质,矿石含碳量越高,采场内因火灾越倾向严重。
1.2 采场内因火灾粗糙模糊集分析
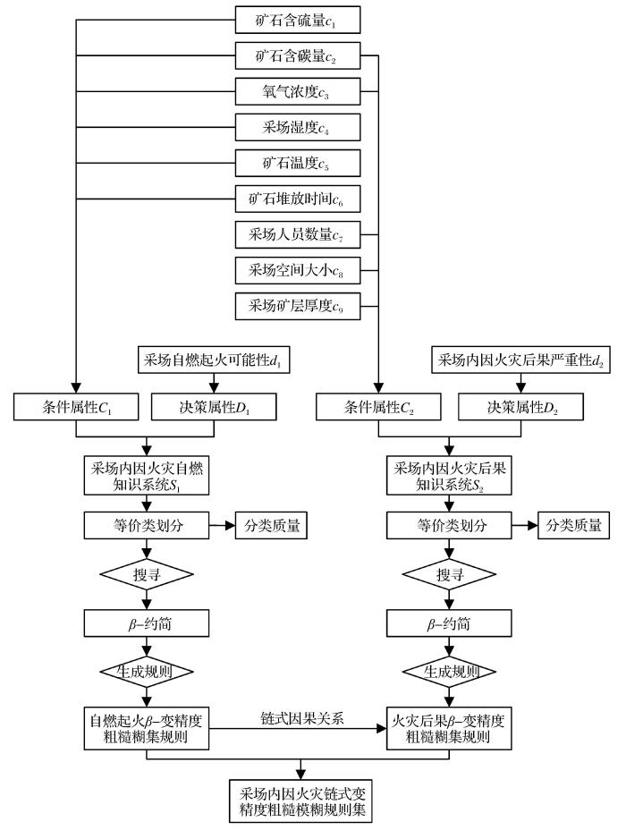
以一批具有代表性的典型采场作为分析样本,收集统计其矿石含硫量、矿石含碳量、氧气浓度、采场人员数量及采场空间等因素指标,并根据类似采场火灾资料,得到典型采场的自燃起火可能性及火灾后果严重性的概率。构建采场内因火灾自燃发火及火灾后果的粗糙模糊集规律分析知识系统S。
采场内因火灾自燃起火及火灾后果分析实际上包括自燃起火和火灾后果2个层序性链式方面,因此该知识系统S包含属性有交集的采场内因火灾自燃起火知识系统S1和采场内因火灾后果知识系统S2,可对2个知识系统分别进行粗糙模糊集规律分析,再进行归并整合。
1.3 采场内因火灾自燃起火粗糙模糊集分析
从采场内因火灾自燃起火及火灾后果规律的粗糙模糊集分析知识系统中选择矿石含硫量c1、矿石含碳量c2、氧气浓度c3、采场湿度c4、矿石温度c5和矿石堆放时间c6作为条件属性,以采场是否自燃起火的概率d1作为决策属性,从总的知识系统中剥离形成采场内因火灾自燃起火粗糙模糊集规律分析知识系统S1。其粗糙模糊集规律分析步骤如下:
步骤1:构建采场内因火灾自燃起火规律的粗糙模糊集分析知识系统S1=(U,A1,V,f),其中U为待评价论域对象空间,即样本采场集合;A1为属性集合,包括条件属性集合C1与决策属性集合D1,即A=C1∪D1,其中条件属性集合C1={c1,c2,c3,c4,c5,c6},决策属性集合D1为采场内因火灾自燃起火概率的模糊划分,D1={d1};V为各类属性值域的并集,即V=∪Va,其中a∈A1,Va 为属性a的值域;f为信息函数,指明了U×A1→V的规则,对于∀a∈A1,∀x∈U,f(x,a)∈Va。
步骤2:对于论域对象空间U,由条件属性集合C1生成不可分辨关系I(x)。对于对象y、z,I(y,z)的定义为:I(x,y)={(y,z)∈U×U:f(y,a)=f(z,a),∀q∈C1}。
步骤3:由决策属性集合D1生成决策类F。决策类F的定义为
式中:xi 为决策类集合F中的元素;
步骤4:对于∀λ∈[0,1],计算决策类集合F的λ-截集,形成模糊等价类Fλ,模糊等价类Fλ 的定义为
步骤5:计算决策类集合F的λ-截集Fλ 的隶属函数
步骤6:根据设定的置信阈值β(理论上β的取值范围为[0,1],实际中β的取值范围一般为(0.5,1],计算对于所有条件属性集C1的分类质量
步骤7:在不影响分类质量的情况下通过缩减条件属性集C1,搜寻得到β-约简,生成的β-约简不得影响原有条件属性集C1的分类质量。
令R=C1,S=R。对于条件属性集C1中的第j个条件属性c j,计算条件属性集R-{c j }的分类质量
步骤8:以搜寻得到的β-约简,生成采场内因火灾自燃起火粗糙模糊概率决策规则集。
1.4 采场内因火灾后果粗糙模糊集分析
从采场内因火灾自燃起火及火灾后果规律的粗糙模糊集分析知识系统中选择矿石含碳量c2、氧气浓度c3、采场人员数量c7、采场空间大小c8和采场矿层厚度c9作为条件属性,以采场内因火灾后果严重程度的分类及概率d2作为决策属性,从总的知识系统中剥离形成采场内因火灾后果规律分析的粗糙模糊集分析知识系统S2。构建采场内因火灾后果规律分析的粗糙模糊集分析知识系统S2=(U,A2,V,f),其规律分析步骤参考采场内因火灾自燃起火粗糙模糊集规律分析步骤。
1.5 规律链式融合分析
将分析得到的采场内因火灾自燃起火的粗糙模糊集规律和采场内因火灾后果的粗糙模糊集规律,按照先有采场内因火灾自燃起火,后有采场内因火灾后果的因果链式层序关系进行叠加融合,进而得到采场内因火灾的链式变精度粗糙模糊集规律分析结果。
系统建模流程见图1。
图1
2 实证分析
2.1 矿山概况
表1 采场内因火灾影响指标统计
Table 1
| 采场编号 | 矿石含硫量/% | 矿石含碳量/% | 氧气浓度/% | 采场湿度/% | 矿石温度/℃ | 矿石堆放时间/h | 采场人员数量/人 | 采场空间面积 /m2 | 采场矿层厚度 /m |
|---|---|---|---|---|---|---|---|---|---|
| 1# | 41.2 | 13.3 | 19.2 | 63 | 28.5 | 62 | 7 | 720 | 3.4 |
| 2# | 31.9 | 7.7 | 18.6 | 71 | 25.2 | 82 | 14 | 570 | 6.1 |
| 3# | 22.4 | 12.8 | 20.1 | 82 | 28.8 | 57 | 11 | 730 | 3.1 |
| 4# | 22.4 | 3.8 | 18.9 | 62 | 22.8 | 47 | 4 | 890 | 7.6 |
| 5# | 23.3 | 2.3 | 20.9 | 85 | 27.9 | 39 | 4 | 1 050 | 6.5 |
| 6# | 43.4 | 11.9 | 19.7 | 68 | 27.2 | 55 | 9 | 880 | 4.5 |
| 7# | 35.1 | 4.4 | 19.3 | 74 | 22.8 | 59 | 7 | 1 020 | 8.1 |
| 8# | 31.4 | 6.1 | 18.8 | 81 | 26.5 | 64 | 8 | 730 | 6.8 |
| 9# | 28.2 | 4.3 | 18.3 | 67 | 23.7 | 27 | 3 | 810 | 8.9 |
| 10# | 22.7 | 11.9 | 20.5 | 84 | 27.3 | 61 | 13 | 630 | 4.7 |
| 11# | 22.4 | 7.8 | 18.3 | 68 | 22.8 | 47 | 11 | 460 | 6.6 |
| 12# | 34.6 | 7.9 | 19.5 | 82 | 22.2 | 67 | 12 | 410 | 3.7 |
| 13# | 32.4 | 12.3 | 19.2 | 84 | 21.8 | 37 | 6 | 810 | 4.2 |
| 14# | 21.9 | 4.7 | 18.5 | 64 | 22.4 | 39 | 4 | 770 | 7.3 |
| 15# | 35.7 | 4.9 | 19.1 | 75 | 21.5 | 58 | 8 | 990 | 7.4 |
| 16# | 38.5 | 5.7 | 18.2 | 75 | 26.8 | 79 | 6 | 690 | 5.9 |
| 17# | 31.3 | 8.7 | 19.8 | 86 | 23.6 | 63 | 14 | 570 | 3.9 |
| 18# | 28.8 | 4.1 | 20.3 | 81 | 28.2 | 43 | 3 | 1 130 | 5.2 |
| 19# | 28.8 | 9.1 | 18.4 | 77 | 23.4 | 33 | 9 | 770 | 5.2 |
| 20# | 22.4 | 12.3 | 20.7 | 87 | 27.2 | 66 | 12 | 750 | 4.3 |
| 21# | 37.3 | 8.3 | 18.4 | 86 | 24.5 | 57 | 12 | 500 | 5.8 |
| 22# | 28.3 | 3.3 | 20.1 | 86 | 27.6 | 42 | 5 | 1 180 | 5.1 |
| 23# | 37.1 | 13.4 | 19.5 | 69 | 22.5 | 79 | 6 | 810 | 3.7 |
| 24# | 34.3 | 9.2 | 18.1 | 78 | 26.6 | 92 | 7 | 840 | 6.1 |
| 25# | 33.9 | 3.8 | 19.8 | 77 | 22.2 | 69 | 9 | 930 | 8.6 |
| 26# | 37.8 | 6.6 | 18.9 | 85 | 24.9 | 63 | 8 | 670 | 6.8 |
| 27# | 46.0 | 11.1 | 19.5 | 62 | 28.7 | 71 | 7 | 650 | 4.9 |
| 28# | 21.3 | 3.1 | 18.1 | 75 | 22.8 | 56 | 5 | 820 | 7.8 |
| 29# | 37.2 | 4.7 | 19.6 | 71 | 23.5 | 66 | 6 | 1 140 | 8.7 |
| 30# | 32.8 | 6.2 | 19.7 | 82 | 23.7 | 61 | 11 | 520 | 4.9 |
表2 采场内因火灾结果统计
Table 2
| 采场编号 | 自燃起火概率/% | 自燃起火判定 | 火灾后果概率/% | 火灾后果判定 | |||
|---|---|---|---|---|---|---|---|
| 不自燃概率 | 自燃概率 | 严重 | 一般严重 | 不严重 | |||
| 1# | 26.3 | 73.7 | 倾向自燃 | 19.2 | 52.4 | 28.4 | 一般严重 |
| 2# | 38.6 | 61.4 | 倾向自燃 | 22.3 | 59.1 | 18.6 | 一般严重 |
| 3# | 41.6 | 58.4 | 倾向自燃 | 69.1 | 17.5 | 13.4 | 严重 |
| 4# | 66.1 | 33.9 | 不易自燃 | 17.9 | 20.6 | 61.5 | 不严重 |
| 5# | 54.3 | 45.7 | 不易自燃 | 20.5 | 32.1 | 47.5 | 不严重 |
| 6# | 24.1 | 75.9 | 倾向自燃 | 16.3 | 61.3 | 22.4 | 一般严重 |
| 7# | 58.7 | 41.3 | 不易自燃 | 13.4 | 33.2 | 53.4 | 不严重 |
| 8# | 43.1 | 56.9 | 倾向自燃 | 24.9 | 55.2 | 19.9 | 一般严重 |
| 9# | 62.8 | 37.2 | 不易自燃 | 8.5 | 25.4 | 66.1 | 不严重 |
| 10# | 43.1 | 56.9 | 倾向自燃 | 63.8 | 19.7 | 16.5 | 严重 |
| 11# | 60.9 | 39.1 | 不易自燃 | 22.2 | 53.7 | 24.1 | 一般严重 |
| 12# | 60.1 | 39.9 | 不易自燃 | 44.3 | 33.2 | 22.5 | 严重 |
| 13# | 55.2 | 44.8 | 不易自燃 | 19.5 | 62.4 | 18.1 | 一般严重 |
| 14# | 61.9 | 38.1 | 不易自燃 | 14.3 | 23.3 | 62.4 | 不严重 |
| 15# | 51.8 | 48.2 | 不易自燃 | 19.4 | 30.9 | 49.7 | 不严重 |
| 16# | 31.2 | 68.8 | 倾向自燃 | 20.1 | 57.1 | 22.8 | 一般严重 |
| 17# | 61.4 | 38.6 | 不易自燃 | 47.2 | 33.7 | 19.1 | 严重 |
| 18# | 56.4 | 43.6 | 不易自燃 | 20.2 | 27.5 | 52.3 | 不严重 |
| 19# | 52.9 | 47.1 | 不易自燃 | 24.8 | 49.3 | 25.9 | 一般严重 |
| 20# | 45.7 | 54.3 | 倾向自燃 | 64.2 | 21.6 | 14.2 | 严重 |
| 21# | 40.9 | 59.1 | 倾向自燃 | 17.7 | 58.8 | 23.5 | 一般严重 |
| 22# | 52.3 | 47.7 | 不易自燃 | 21.9 | 29.5 | 48.6 | 不严重 |
| 23# | 41.8 | 58.2 | 倾向自燃 | 25.0 | 57.6 | 17.4 | 一般严重 |
| 24# | 34.7 | 65.3 | 倾向自燃 | 24.1 | 47.7 | 28.2 | 一般严重 |
| 25# | 57.3 | 42.7 | 不易自燃 | 21.3 | 31.5 | 47.2 | 不严重 |
| 26# | 42.8 | 57.2 | 倾向自燃 | 21.1 | 58.4 | 20.5 | 一般严重 |
| 27# | 27.6 | 72.4 | 倾向自燃 | 21.3 | 55.9 | 22.8 | 一般严重 |
| 28# | 61.7 | 38.3 | 不易自燃 | 13.8 | 22. | 63.7 | 不严重 |
| 29# | 51.2 | 48.8 | 不易自燃 | 21.1 | 31.1 | 47.8 | 不严重 |
| 30# | 63.3 | 36.7 | 不易自燃 | 50.9 | 30.4 | 18.7 | 严重 |
2.2 构建规律分析知识系统
根据矿山多年生产资料,统计得到采场矿石含硫量为20%~50%,碳矿石含碳量为0~15%,氧气浓度为18%~21%,采场湿度为60%~90%,矿石温度为21~30℃,矿石堆放时间为25~100 h,采场人员数0~15人,采场空间面积为300~1 200 m2,矿层厚度为3~9 m。按照等宽度区间离散法,按照三级离散,将含硫量[20%,30%]定为低,(30%,40%]定为中,(40%,50%]定为高;将含碳量[0,5%]定为低,(5%,10%]定为中,(10%,15%]定为高;将氧气浓度[18%,19%]定为低,(19%,20%]定为中,(20%,21%]定为高;将采场湿度[60%,70%]定为低,(70%,80%]定为中,(80%,90%]定为高;将矿石温度(单位:℃)[21,24]定为低,(24,27]定为中,(27,30]定为高;将矿石堆放时间(单位:h)[25,50]定为短,(50,75]定为中,(75,100]定为长;将采场人员数[0,5]定为少,(5,10]定为中,(10,15]定为多;将采场空间面积(单位:m2)[300,600]定为小,(600,900]定为中,(900,1200]定为大;将矿层厚度(单位:m)[3,5]定为薄,(5,7]定为中厚,(7,9]定为厚。据此可以将表1中的采场内因火灾影响指标数值进行离散定性评价。
表3 自燃起火粗糙模糊知识系统
Table 3
采场 U | 条件属性C1 | 决策属性D1 | 决策隶属度 | ||||||
|---|---|---|---|---|---|---|---|---|---|
| c1 | c2 | c3 | c4 | c5 | c6 | d1 | 不易自燃 | 倾向自燃 | |
| n1 | 高 | 高 | 中 | 低 | 高 | 中 | 倾向自燃 | 0.263 | 0.737 |
| n2 | 中 | 中 | 低 | 中 | 中 | 长 | 倾向自燃 | 0.386 | 0.614 |
| n3 | 低 | 高 | 高 | 高 | 高 | 中 | 倾向自燃 | 0.416 | 0.584 |
| n4 | 低 | 低 | 低 | 低 | 低 | 短 | 不易自燃 | 0.661 | 0.339 |
| n5 | 低 | 低 | 高 | 高 | 高 | 短 | 不易自燃 | 0.543 | 0.457 |
| n6 | 高 | 高 | 中 | 低 | 高 | 中 | 倾向自燃 | 0.241 | 0.759 |
| n7 | 中 | 低 | 中 | 中 | 低 | 中 | 不易自燃 | 0.587 | 0.413 |
| n8 | 中 | 中 | 低 | 高 | 中 | 中 | 倾向自燃 | 0.431 | 0.569 |
| n9 | 低 | 低 | 低 | 低 | 低 | 短 | 不易自燃 | 0.628 | 0.372 |
| n10 | 低 | 高 | 高 | 高 | 高 | 中 | 倾向自燃 | 0.431 | 0.569 |
| n11 | 低 | 中 | 低 | 低 | 低 | 短 | 不易自燃 | 0.609 | 0.391 |
| n12 | 中 | 中 | 中 | 高 | 低 | 中 | 不易自燃 | 0.601 | 0.399 |
| n13 | 中 | 高 | 中 | 高 | 低 | 短 | 不易自燃 | 0.552 | 0.448 |
| n14 | 低 | 低 | 低 | 低 | 低 | 短 | 不易自燃 | 0.619 | 0.381 |
| n15 | 中 | 低 | 中 | 中 | 低 | 中 | 不易自燃 | 0.518 | 0.482 |
| n16 | 中 | 中 | 低 | 中 | 中 | 长 | 倾向自燃 | 0.312 | 0.688 |
| n17 | 中 | 中 | 中 | 高 | 低 | 中 | 不易自燃 | 0.614 | 0.386 |
| n18 | 低 | 低 | 高 | 高 | 高 | 短 | 不易自燃 | 0.564 | 0.436 |
| n19 | 低 | 中 | 低 | 中 | 低 | 短 | 不易自燃 | 0.529 | 0.471 |
| n20 | 低 | 高 | 高 | 高 | 高 | 中 | 倾向自燃 | 0.457 | 0.543 |
| n21 | 中 | 中 | 低 | 高 | 中 | 中 | 倾向自燃 | 0.409 | 0.591 |
| n22 | 低 | 低 | 高 | 高 | 高 | 短 | 不易自燃 | 0.523 | 0.477 |
| n23 | 中 | 高 | 中 | 低 | 低 | 长 | 倾向自燃 | 0.418 | 0.582 |
| n24 | 中 | 中 | 低 | 中 | 中 | 长 | 倾向自燃 | 0.347 | 0.653 |
| n25 | 中 | 低 | 中 | 中 | 低 | 中 | 不易自燃 | 0.573 | 0.427 |
| n26 | 中 | 中 | 低 | 高 | 中 | 中 | 倾向自燃 | 0.428 | 0.572 |
| n27 | 高 | 高 | 中 | 低 | 高 | 中 | 倾向自燃 | 0.276 | 0.724 |
| n28 | 低 | 低 | 低 | 中 | 低 | 中 | 不易自燃 | 0.617 | 0.383 |
| n29 | 中 | 低 | 中 | 中 | 低 | 中 | 不易自燃 | 0.512 | 0.488 |
| n30 | 中 | 中 | 中 | 高 | 低 | 中 | 不易自燃 | 0.633 | 0.367 |
表4 火灾后果粗糙模糊知识系统
Table 4
| 采场U | 条件属性C2 | 决策属性D2 | 决策隶属度 | ||||||
|---|---|---|---|---|---|---|---|---|---|
| c2 | c3 | c7 | c8 | c9 | d2 | 严重 | 一般严重 | 不严重 | |
| n1 | 高 | 中 | 中 | 中 | 薄 | 一般严重 | 0.192 | 0.524 | 0.284 |
| n2 | 中 | 低 | 多 | 小 | 中厚 | 一般严重 | 0.223 | 0.591 | 0.186 |
| n3 | 高 | 高 | 多 | 中 | 薄 | 严重 | 0.691 | 0.175 | 0.134 |
| n4 | 低 | 低 | 少 | 中 | 厚 | 不严重 | 0.179 | 0.206 | 0.615 |
| n5 | 低 | 高 | 少 | 大 | 中厚 | 不严重 | 0.205 | 0.321 | 0.475 |
| n6 | 高 | 中 | 中 | 中 | 薄 | 一般严重 | 0.163 | 0.613 | 0.224 |
| n7 | 低 | 中 | 中 | 大 | 厚 | 不严重 | 0.134 | 0.332 | 0.534 |
| n8 | 中 | 低 | 中 | 中 | 中厚 | 一般严重 | 0.249 | 0.552 | 0.199 |
| n9 | 低 | 低 | 少 | 中 | 厚 | 不严重 | 0.085 | 0.254 | 0.661 |
| n10 | 高 | 高 | 多 | 中 | 薄 | 严重 | 0.638 | 0.197 | 0.165 |
| n11 | 中 | 低 | 多 | 小 | 中厚 | 一般严重 | 0.222 | 0.537 | 0.241 |
| n12 | 中 | 中 | 多 | 小 | 薄 | 严重 | 0.443 | 0.332 | 0.225 |
| n13 | 高 | 中 | 中 | 中 | 薄 | 一般严重 | 0.195 | 0.624 | 0.181 |
| n14 | 低 | 低 | 少 | 中 | 厚 | 不严重 | 0.143 | 0.233 | 0.624 |
| n15 | 低 | 中 | 中 | 大 | 厚 | 不严重 | 0.194 | 0.309 | 0.497 |
| n16 | 中 | 低 | 中 | 中 | 中厚 | 一般严重 | 0.201 | 0.571 | 0.228 |
| n17 | 中 | 中 | 多 | 小 | 薄 | 严重 | 0.472 | 0.337 | 0.191 |
| n18 | 低 | 高 | 少 | 大 | 中厚 | 不严重 | 0.202 | 0.275 | 0.523 |
| n19 | 中 | 低 | 中 | 中 | 中厚 | 一般严重 | 0.248 | 0.493 | 0.259 |
| n20 | 高 | 高 | 多 | 中 | 薄 | 严重 | 0.642 | 0.216 | 0.142 |
| n21 | 中 | 低 | 多 | 小 | 中厚 | 一般严重 | 0.177 | 0.588 | 0.235 |
| n22 | 低 | 高 | 少 | 大 | 中厚 | 不严重 | 0.219 | 0.295 | 0.486 |
| n23 | 高 | 中 | 中 | 中 | 薄 | 一般严重 | 0.25 | 0.576 | 0.174 |
| n24 | 中 | 低 | 中 | 中 | 中厚 | 一般严重 | 0.241 | 0.477 | 0.282 |
| n25 | 低 | 中 | 中 | 大 | 厚 | 不严重 | 0.213 | 0.315 | 0.472 |
| n26 | 中 | 低 | 中 | 中 | 中厚 | 一般严重 | 0.211 | 0.584 | 0.205 |
| n27 | 高 | 中 | 中 | 中 | 薄 | 一般严重 | 0.213 | 0.559 | 0.228 |
| n28 | 低 | 低 | 少 | 中 | 厚 | 不严重 | 0.138 | 0.225 | 0.637 |
| n29 | 低 | 中 | 中 | 大 | 厚 | 不严重 | 0.211 | 0.311 | 0.478 |
| n30 | 中 | 中 | 多 | 小 | 薄 | 严重 | 0.509 | 0.304 | 0.187 |
2.3 等价类划分与约简搜寻
根据采场内因火灾自燃起火知识系统S1的条件属性C1,对样本采场对象集U进行划分,得到等价类U/C1={X1,X2,X3,X4,X5,X6,X7,X8,X9,X10,X11,X12,X13},其中X1={n1,n6,n27},X2={n2,n16,n24},X3={n3,n10,n20},X4={n4,n9,n14},X5={n5,n18,n22},X6={n7,n15,n25,n29},X7={n8,n21,n26},X8={n11},X9={n12,n17,n30},X10={n13},X11={n19},X12={n23},X13={n28}。
根据决策属性D1,对样本采场对象集U进行划分,得到决策类U/D1={F1,F2},其中不易自燃类F1={X4,X5,X6,X8,X9,X10,X11,X13}={n4,n5,n7,n9,n11,n12,n13,n14,n15,n17,n18,n19,n22,n25,n28,n29,n30},倾向自燃类F2={X1,X2,X3,X7,X12}={n1,n2,n3,n6,n8,n10,n16,n20,n21,n23,n24,n26,n27}。
由式(1)~
表5 自燃起火知识系统粗糙隶属度
Table 5
| 等价类 | 决策类 | 等价类 | 决策类 | ||
|---|---|---|---|---|---|
| F1 | F2 | F1 | F2 | ||
| X1 | 0 | 0.740 | X8 | 0.609 | 0 |
| X2 | 0 | 0.652 | X9 | 0.616 | 0 |
| X3 | 0 | 0.565 | X10 | 0.522 | 0 |
| X4 | 0.636 | 0 | X11 | 0.529 | 0 |
| X5 | 0.543 | 0 | X12 | 0 | 0.582 |
| X6 | 0.548 | 0 | X13 | 0.617 | 0 |
| X7 | 0 | 0.577 | |||
为获得可靠且概率较大的规则,同时又兼顾规则能够覆盖较多的对象,取置信阈值β=0.55=55%,得到条件属性集C1的分类质量,表示为
在不影响分类质量的情况下,按照缩减后的条件属性集的分类质量不低于原条件属性集分类质量的原则搜寻β-约简,得到最小β-约简为C1-{c3,c4}。
根据采场内因火灾后果知识系统S2的条件属性C2,对样本采场对象集U进行划分,得到等价类U/C2={Y1,Y2,Y3,Y4,Y5,Y6,Y7,Y8},其中Y1={n1,n6,n13,n23,n27},Y2={n2,n11,n21},Y3={n3,n10,n20},Y4={n4,n9,n14,n28},Y5={n5,n18,n22},Y6={n7,n15,n25,n29},Y7={n8,n16,n19,n24,n26},Y8={n12,n17,n30}。
根据决策属性D2,对样本采场对象集U进行划分,得到决策类U/D2={F1,F2,F3},其中火灾后果严重类F1={Y3,Y8}={n3,n10,n12,n17,n20,n30},火灾后果一般严重类F2={Y1,Y2,Y7}={n1,n2,n6,n8,n11,n13,n16,n19,n21,n23,n24,n26,n27},火灾后果不严重类F3={Y4,Y5,Y6}={n4,n5,n7,n9,n14,n15,n18,n22,n25,n28,n29}。
由式(1)~
表6 火灾后果知识系统粗糙隶属度
Table 6
| 等价类 | 决策类 | 等价类 | 决策类 | ||||
|---|---|---|---|---|---|---|---|
| F1 | F2 | F3 | F1 | F2 | F3 | ||
| Y1 | 0 | 0.579 | 0 | Y5 | 0 | 0 | 0.495 |
| Y2 | 0 | 0.572 | 0 | Y6 | 0 | 0 | 0.495 |
| Y3 | 0.657 | 0 | 0 | Y7 | 0 | 0.535 | 0 |
| Y4 | 0 | 0 | 0.634 | Y8 | 0.475 | 0 | 0 |
为获得可靠且概率较大的规则,同时又兼顾规则能够覆盖较多的对象,取置信阈值β=0.50=50%,得到条件属性集C2的分类质量,表示为
在不影响分类质量的情况下,按照缩减后的条件属性集的分类质量不低于原条件属性集分类质量的原则搜寻β-约简,得到最小β-约简为C2-{c2,c8,c9}。
2.4 规则提取
根据采场内因火灾自燃起火知识系统S1的β-约简(β为55%)C1-{c3,c4}即{c1,c2,c5,c6},生成S1的β-约简概率决策规则(表7)。
表7 自燃起火β-约简概率决策规则
Table 7
| 规则 | 支持数 | 置信度/% |
|---|---|---|
| if矿石含硫量=高and矿石含碳量=高and矿石温度=高and矿石堆放时间=中then采场矿石=倾向自燃 | 3 | 74.0 |
| if矿石含硫量=中and矿石含碳量=中and矿石温度=中and矿石堆放时间=长then采场矿石=倾向自燃 | 3 | 65.2 |
| if矿石含硫量=低and矿石含碳量=高and矿石温度=高and矿石堆放时间=中then采场矿石=倾向自燃 | 3 | 56.5 |
| if矿石含硫量=低and矿石含碳量=低and矿石温度=低and矿石堆放时间=短then采场矿石=不易自燃 | 3 | 63.6 |
| if矿石含硫量=中and矿石含碳量=中and矿石温度=中and矿石堆放时间=中then采场矿石=倾向自燃 | 3 | 57.7 |
| if矿石含硫量=低and矿石含碳量=中and矿石温度=低and矿石堆放时间=短then采场矿石=不易自燃 | 1 | 60.9 |
| if矿石含硫量=中and矿石含碳量=中and矿石温度=低and矿石堆放时间=中then采场矿石=不易自燃 | 3 | 61.6 |
| if矿石含硫量=中and矿石含碳量=高and矿石温度=低and矿石堆放时间=长then采场矿石=倾向自燃 | 1 | 58.2 |
| if矿石含硫量=低and矿石含碳量=低and矿石温度=低and矿石堆放时间=中then采场矿石=不易自燃 | 1 | 61.7 |
根据采场内因火灾后果知识系统S2的β-约简(β为50%)C2-{c2,c8,c9}即{c3,c7},生成S2的β-约简概率决策规则(表8)。
表8 火灾后果β-约简概率决策规则
Table 8
| 规则 | 支持数 | 置信度/% |
|---|---|---|
| if氧气浓度=中and采场人员数量=中then采场内因火灾=一般严重 | 5 | 57.9 |
| if氧气浓度=低and采场人员数量=多then采场内因火灾=一般严重 | 3 | 57.2 |
| if氧气浓度=高and采场人员数量=多then采场内因火灾=严重 | 3 | 65.7 |
| if氧气浓度=低and采场人员数量=少then采场内因火灾=不严重 | 4 | 63.4 |
| if氧气浓度=低and采场人员数量=中then采场内因火灾=一般严重 | 5 | 53.5 |
2.5 链式规则分析
表9 采场内因火灾规律
Table 9
| 知识系统 | 编号 | 规律 | 支持数 | 置信度/% |
|---|---|---|---|---|
自燃起火 知识系统 | A | if矿石含硫量=高and矿石含碳量=高and矿石温度=高and矿石堆放时间=中then采场矿石=倾向自燃 | 3 | 74.0 |
| B | if矿石含硫量=中and矿石含碳量=中and矿石温度=中and矿石堆放时间=长then采场矿石=倾向自燃 | 3 | 65.2 | |
| C | if矿石含硫量=低and矿石含碳量=高and矿石温度=高and矿石堆放时间=中then采场矿石=倾向自燃 | 3 | 56.5 | |
| D | if矿石含硫量=低and矿石含碳量=低and矿石温度=低and矿石堆放时间=短then采场矿石=不易自燃 | 3 | 63.6 | |
| E | if矿石含硫量=中and矿石含碳量=中and矿石温度=中and矿石堆放时间=中then采场矿石=倾向自燃 | 3 | 57.7 | |
| F | if矿石含硫量=中and矿石含碳量=中and矿石温度=低and矿石堆放时间=中then采场矿石=不易自燃 | 3 | 61.6 | |
火灾后果 知识系统 | Ⅰ | if氧气浓度=中and采场人员数量=中then采场内因火灾=一般严重 | 5 | 57.9 |
| Ⅱ | if氧气浓度=低and采场人员数量=多then采场内因火灾=一般严重 | 3 | 57.2 | |
| Ⅲ | if氧气浓度=高and采场人员数量=多then采场内因火灾=严重 | 3 | 65.7 | |
| Ⅳ | if氧气浓度=低and采场人员数量=少then采场内因火灾=不严重 | 4 | 63.4 | |
| Ⅴ | if氧气浓度=低and采场人员数量=中then采场内因火灾=一般严重 | 5 | 53.5 |
将自燃起火知识系统与火灾后果知识系统得到的规律进行组合,得到涵盖采场内因火灾起因与发展的相对完整的组合规律。
按照表9中的规律进行组合,可得到30条规律,按照编号组合,分别为A+Ⅰ、A+Ⅱ、A+Ⅲ、A+Ⅳ、A+Ⅴ、B+Ⅰ、B+Ⅱ、B+Ⅲ、B+Ⅳ、B+Ⅴ、C+Ⅰ、C+Ⅱ、C+Ⅲ、C+Ⅳ、C+Ⅴ、D+Ⅰ、D+Ⅱ、D+Ⅲ、D+Ⅳ、D+Ⅴ、E+Ⅰ、E+Ⅱ、E+Ⅲ、E+Ⅳ、E+Ⅴ、E+Ⅰ、E+Ⅱ、E+Ⅲ、E+Ⅳ和E+Ⅴ。
以A+Ⅰ为例,对组合规律进行解读:当采场矿石含硫量高、含碳量高、矿石温度高、堆放时间中、氧气浓度中和采场人员数量中时,矿石有74.0%的概率倾向自燃且自燃后火灾后果一般严重的概率为57.9%。类似地,可对其他组合规律进行解读。
根据采场内因火灾的组合规律,对采场自燃起火及火灾后果严重程度进行预判,对于自燃起火概率高且火灾后果严重的情况,可以采取针对性的措施,如:降低采场矿石温度(加强通风、使用水冷风机等设备),缩短矿石堆放时间,在合理范围内降低采场氧气浓度,以及减少人员数量等,以改变影响指标状态,进而降低矿石自燃起火概率和火灾后果严重程度,从而保证采场生产作业安全。
通过实践应用,该矿山企业采场内因火灾的发生率下降了约62%,采场内因火灾的人员伤亡数量和经济损失分别减少了约55%和约57%。
3 结语
(1)以样本采场的内因火灾自燃起火及火灾后果的影响指标作为条件属性,以自燃起火和火灾后果的概率性后果作为决策属性,考虑到自燃起火及火灾后果的链式因果关系,构建了采场内因火灾的链式变精度粗糙模糊集模型。对采场内因火灾进行了基于置信度准则的起因与发展多环节系统化的变精度粗糙模糊集分析。
(2)将自燃起火知识系统划分为13个等价类,2个决策类,将火灾后果知识系统划分为8个等价类,3个决策类,得到矿石含硫量、含碳量、矿石温度及堆放时间是采场矿石自燃起火的决定性因素,并得到了9条置信度大于55%的可信规则作为规律,综合分类质量高达70%。
(3)将火灾后果知识系统划分为8个等价类,3个决策类,得到氧气浓度和采场人员数量是采场内因火灾后果的决定性因素,并得到了5条置信度大于50%的可信规则作为规律,综合分类质量高达67%。
(4)对采场自燃起火知识系统及火灾后果知识系统根据链式因果关系进行归并整合,得到了30条涵盖采场内因火灾起因与发展的相对完整的组合规律,根据组合规律对采场内因火灾的发生及发展采取了针对性的阻断或减轻措施,有效降低了采场内因火灾的发生和火灾发生后的人员伤亡及经济损失。
http://www.goldsci.ac.cn/article/2022/1005-2518/1005-2518-2022-30-1-93.shtml
参考文献
Rough sets of laneway supporting schemes evaluation system based on dominance relation
[J].
Study on the spontaneous combustion of high temperature sulphride ores and its control technology
[J].
Rough fuzzy set of logical and operation of variable precisionand grade based on dominance relation
[J].
Internal fire in sulfide mine of Laochang mine and prevention
[J].
Investigation on the Mechanism of Spontaneous Combustion of Sulphide Ores and the Key Technologies for Preventing Fire
[D].
Dangerousness assessment of ore spontaneous combustion in high temperature high sulfur deposits
[J].
Probabilistic decision method and application based on the hybrid model of grey clustering and variable precision rough fuzzy set
[J].
Management response system to ores spontaneous combustion based on dominance-based rough sets and grey target
[J].
Characteristic overview and analysis of spontaneous combustion of sulfide ores
[J].
Algorithms for knowledge acquisition in decision-making system based on rough sets theory andits positive analysis
[J].
In site test and investigation on sulphide ore spontaneous ignition
[J].
A simple method for predicting the spontaneous combustion potential of sulfide ores at ambient
[J].
Grey system approach in application to the diction of spontaneous combustion of sulfide ore residue
[J].
Study on the Mechanism and Forecasting Technologies for Spontaneous Combustion of Sulfied Minerails in Metal Mines
[D].
Exploring judgment theorems and discernibility matrices useful in discovering valuable but hidden information from a certain class of decision tables
[J].
Incomplete information system and its optimal selection
[J].
基于优势关系的粗糙集的巷道支护方案评价体系
[J].
高温高硫矿床矿石自燃性及防治技术研究
[J].
优势关系下变精度与程度“逻辑且”粗糙模糊集
[J].
老厂矿的硫化矿内因火灾及其防治
[J].
硫化矿石自燃机理及其预防关键技术研究
[D].
高温高硫矿床矿石自燃危险性的评价
[J].
杂合灰色聚类与变精度粗糙模糊集的概率决策方法及应用
[J].
基于优势关系粗糙集与灰靶决策的矿石自燃管理应对体系
[J].
硫化矿石堆氧化自燃全过程特征综述与分析
[J].
基于粗糙集的决策系统知识获取算法及实证分析
[J].
硫化矿石自燃发火规律现场试验研究
[J].
硫化矿石堆自燃的灰色预测研究
[J].
金属矿山硫化矿自然发火机理及其预测预报技术研究
[D].
优势关系下的相容约简和下近似约简
[J].
/
| 〈 |
|
〉 |


甘公网安备 62010202000672号