基于虚拟现实技术的磨矿分级工艺自主设计系统的开发
Development of a Grinding-Classification Process Auto-design System Based on Virtual Reality Technology
通讯作者:
收稿日期: 2020-04-17 修回日期: 2020-07-02 网络出版日期: 2021-03-22
| 基金资助: |
|
Received: 2020-04-17 Revised: 2020-07-02 Online: 2021-03-22
作者简介 About authors
郑高华(1996-),男,山东日照人,硕士研究生,从事基于虚拟现实技术的磨矿分级设计及配置系统研究工作
关键词:
Keywords:
本文引用格式
郑高华, 王雨琦, 王毓华, 卢东方, 郑霞裕.
ZHENG Gaohua, WANG Yuqi, WANG Yuhua, LU Dongfang, ZHENG Xiayu.
近年来,虚拟现实技术(Visual Reality,简称VR)迅速崛起,并与许多专业领域进行了有效融合。VR作为一项包含计算机图形学、多媒体、传感器和人工智能等多个学科的综合型计算机技术,不仅在教育、传媒、娱乐、医疗和旅游等多个领域得到了广泛应用(于云龙,2018),而且在矿业领域也显现出广阔的应用前景。在采矿工程中,VR技术已经应用在矿床开采优化与设计、矿山作业模拟、矿山生产环境风险评价、矿山地质模型建立和矿山安全培训等方面(杨茜,2015;鹿浩等,2007;申闫春等,2002),以其独有的沉浸性、交互性和构想性的特点(洪洋等,2019;郑轲,2016),在改变矿山设计模式、大幅降低矿山开采成本、加快矿山自动化的进程以及身临其境地模拟矿山事故等方面发挥着重要作用。
在矿物加工设计领域,为了提高计算机辅助设计效率,前人开展了大量关于选矿厂设计过程计算机智能化方面的研究工作。这些研究主要包括:选矿工艺设备配置图智能CAD系统的研究(聂轶苗等,2014;陈荩等,1996),磨矿工艺设计软件和浮选工艺流程设计软件的开发(王毓华等,1995a,1995b),选矿厂和选煤厂设计专家系统的研究(陈荩等,1994;王毓华等,1995c;匡亚莉等,1996),以及具有较强综合性的选矿厂工艺设计智能决策支持系统的探索(肖春莲,1996;陆春雨,2019)等。然而,VR技术在矿物加工领域尚未开展应用,因此具有巨大的应用潜力。
本文介绍了基于UE4平台搭建磨矿分级工艺自主设计系统的总体架构,以及对传统工艺设计过程中的经验公式、经验数据及设备选型算法等关键问题的解决途径,进而开发了基于虚拟现实技术的桌面式磨矿分级工艺自主设计系统。本文尝试采用虚拟现实技术处理矿物加工工程的设计问题,以期为探索虚拟现实技术在矿物加工设计领域应用的可行性提供有益借鉴。
1 系统架构设计
磨矿分级工艺自主设计系统的架构如图1所示。系统设计以 UE4的可视化蓝图系统为基础平台,全部内容均搭建于First Person模板之上,使用关卡蓝图实现UI(User Interface,用户界面)与场景之间切换的总体控制。设计过程中所用的经验数据、经验公式和方案选择规范等分别以变量、函数和算法程序的形式存储于First Person Character蓝图类中,同时使用UE4的 UMG(Unreal Motion Graphics UI Designer,虚幻动态图形 UI 设计器)进行UI的创建,二者之间的数据传递依靠蓝图通信完成。最后,将系统打包至Windows终端,用户通过与其所面对的UI进行交互,从而实现整个磨矿分级工艺的计算机自主设计。
图1
图1
磨矿分级工艺自主设计系统架构
Fig.1
Framework of independent design system of grinding-classification process
磨矿分级工艺自主设计系统功能结构如图2所示。用户首先输入设计的原始数据和指标(包括原矿单位小时处理量、磨矿细度要求即-0.074 mm占比、给矿最大粒度、矿石密度、矿石类型、含水量和含泥量等),系统据此推荐一段闭路磨矿或两段全闭路磨矿典型工艺流程,然后进行矿量和矿浆指标计算、磨矿和分级设备选型计算以及辅助设备选型计算等,最后推荐合理的磨矿分级工艺设计方案。
图 2
图 2
磨矿分级工艺自主设计系统功能结构
Fig.2
Functional structure of independent design system of grinding-classification process
为增强系统的灵活性和学习性,在进行推荐流程的矿量和矿浆指标计算,以及磨矿和分级设备选型计算时,众多参数可由系统自动给出,也可以由用户根据需要进行修改,并对结果的合理性和正确性进行评判和分析,最终推荐最合理的工艺设计方案。
在此基础上,通过可视化蓝图语言控制关卡的转换即可实现磨矿分级工艺设计系统与后续磨矿车间设备配置虚拟设计系统之间的衔接,代码简单,无需任何其他的复杂接口。
2 系统建模
开发磨矿分级工艺自主设计系统,需要将传统设计中所需的经验公式、经验数据、设备选型参数和设备选型方法等转化为UE4蓝图系统语言模型,宜分别以函数、变量和算法程序等形式存储于First Person Character蓝图类的库中,使传统的设计方法通过蓝图程序语言转化为计算机自主设计方法。
2.1 经验公式模型的建立
磨矿分级工艺设计过程中需要应用许多经验公式,这些经验公式具有结构复杂、参数可变且需要重复使用的特点。在编程前,先将经验公式编写为函数或宏,给可变参数预留变量。若编程过程中需要,则直接调用对应公式的函数,有效实现经验公式到蓝图函数模型的转变,是提高设计效率的有效方法之一。以高堰式螺旋分级机计算(王毓华等,2012)为例,其经验公式为
式中:D为分级机螺旋直径(m);Q为按溢流中固体重量计的处理量(t/d);m为分级机螺旋个数;K1为矿石密度校正系数;K2为分级粒度校正系数。
图3
图3
高堰式螺旋分级机计算函数“SET_D_FG”
Fig.3
Calculation function “SET_D_FG” of high-weir spiral classifier
图4
2.2 经验数据模型的建立
在磨矿分级工艺设计过程中,同样用到大量的经验数据,主要包括计算时可取的经验参数和经验公式中所需的校正系数。在传统的设计方法中,这些参数是通过查表或插值估算获得。在本系统开发过程中,需先对这些数据进行处理,建立最佳的蓝图系统语言模型,然后存储于变量中,以供程序或用户随时调用。
(1)表格对应类数据的处理
在传统设计方法中,此类数据值与已知数据值一一对应,设计者可以通过查阅经验数据表格的形式获得相应的取值。在本系统开发过程中,通过建立数组的方式存储此类数据,通过数组系数进行调用,有效地实现了计算机对此类数据的处理。
在本系统设备选型模块中,球磨机生产能力采用容积法计算,其中q值的计算公式如下:
式中:q为设计球磨机按新生成计算级别计的单位容积生产能力(t·m-3·h-1);q0为现厂生产球磨机按新生成计算级别计的单位容积生产能力(t·m-3·h-1);K1、K2、K3和K4分别为不同的校正系数。
表1 球磨机直径校正系数K2及K2数组的构建
Table 1
| 构建数组 | 现厂生产磨机直径D′/mm | 设计磨机直径D/mm | ||||||||
|---|---|---|---|---|---|---|---|---|---|---|
| 900 | 1 200 | 1 500 | 2 100 | 2 700 | 3 200 | 3 600 | 4 000 | 4 500 | ||
| a0 | 900 | 1.00 | 1.19 | 1.34 | 1.66 | 1.85 | 2.07 | 2.10 | 2.26 | 2.41 |
| a1 | 1 200 | 0.84 | 1.00 | 1.14 | 1.40 | 1.63 | 1.74 | 1.76 | 1.91 | 2.04 |
| a2 | 1 500 | 0.74 | 0.87 | 1.00 | 1.22 | 1.45 | 1.52 | 1.55 | 1.69 | 1.80 |
| a3 | 2 100 | 0.60 | 0.71 | 0.81 | 1.00 | 1.17 | 1.25 | 1.30 | 1.41 | 1.49 |
| a4 | 2 700 | 0.51 | 0.61 | 0.70 | 0.85 | 1.00 | 1.09 | 1.17 | 1.23 | 1.30 |
| a5 | 3 200 | 0.47 | 0.57 | 0.64 | 0.80 | 0.92 | 1.00 | 1.07 | 1.12 | 1.19 |
| a6 | 3 600 | 0.46 | 0.55 | 0.62 | 0.76 | 0.86 | 0.94 | 1.00 | 1.06 | 1.12 |
| a7 | 4 000 | 0.44 | 0.52 | 0.59 | 0.71 | 0.81 | 0.89 | 0.95 | 1.00 | 1.06 |
| a8 | 4 500 | 0.42 | 0.49 | 0.56 | 0.67 | 0.77 | 0.84 | 0.89 | 0.93 | 1.00 |
(2)取值范围类数据的处理
在传统设计方法中,此类数据的值与已知数据值部分对应,其余部分则需要设计者估算获得。系统开发时,先将这类数据拟合为相关性最大的数学模型,再转化为函数模型(函数模型的建立同前)供程序调用,便可实现计算机对范围类数据的使用和处理。
以分级机选型计算公式中的分级粒度校正系数K2和K2′为例,其取值见表2。当设计所需的分级溢流粒度恰好与表格中的粒度值对应时,设计者可以很方便地取值。其余情况均需要在范围内估值,容易造成较大数据偏差。
表2 螺旋分级机粒度校正系数K2和K2′取值
Table 2
| 分级溢流粒度/mm | K2 | K2′ |
|---|---|---|
1.17 0.83 0.59 0.42 0.30 0.20 0.15 0.10 0.074 0.061 0.053 0.044 | 2.50 2.37 2.19 1.96 1.70 1.41 1.00 0.67 0.46 | 3.00 2.30 1.61 1.00 0.72 0.55 0.36 |
图5
图5
螺旋分级机粒度校正系数曲线
Fig.5
Particle size correction coefficient curves of spiral classifier
在磨矿分级工艺设计过程中,此类数据较多,拟合方式多样化,主要包括插值多项式函数、对数函数、指数函数和幂函数等。
2.3 设计经验的人工智能算法
本系统模拟传统设计思路,在设备选型模块中,首先根据计算所得最终参数的不同,对设备库中的设备进行分组,然后按照优先级进行设备选型。
以球磨机的选型为例。选型时首先考虑计算所得的各种型号球磨机的台数和负荷率,二者均满足一定条件时方可选取。在一段闭路磨矿中,本系统按照球磨机台数n值和负荷率η值的计算结果将设备库中的球磨机划分为6个集合,编号为①~⑥,然后按照优先级将6个集合从高到低排列,如图6所示。选型时,系统优先从①中选取。若①为空集,那么从②中选取,依此类推。在确定集合后,再使用“起泡法”,先将此集合中的第一个值设为最大值,再通过循环结构和分支结构与其他值逐个比较,直到确定出该集合中负荷率最大值者为止。
图6
图6
一段闭路磨矿球磨机选型算法流程
Fig.6
Algorithm flow of ball mill selection for one stage closed-circuit grinding process
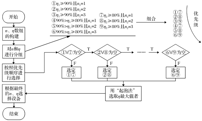
对于两段全闭路磨矿流程,在一段闭路磨矿设备选型模块基础上,仅需增加二段球磨机的选型模块。二段球磨机一般选用溢流型球磨机,因溢流型球磨机负荷率相对较低,故按照优先级将其划分为3个集合,编号为⑦~⑨,如图7所示。系统首先按照台数相同对2种集合进行组合,然后按照①⑦、②⑧、③⑨、④⑦、⑤⑧、⑥⑨的优先级顺序进行选择。只有当2个集合均为非空集时方能在其中选择设备,同样使用“起泡法”选择负荷率最大的设备。
图7
图7
两段全闭路磨矿球磨机选型算法流程
Fig.7
Algorithm flow of ball mill selection for two stages closed-circuit grinding process
3 系统编程、测试与打包
本系统的编程过程均基于UE4的可视化蓝图系统,所有可视化程序均写于First Person Character的事件图表中。
图8
表3 磨矿机给矿中-0.074 mm含量(%)与给矿粒度之间的关系
Table 3
| 给矿粒度/mm | -0.074 mm含量占比/% | ||
|---|---|---|---|
| 难碎性矿石 | 中等可碎性矿石 | 易碎性矿石 | |
| 40 | 2 | 3 | 5 |
| 20 | 5 | 6 | 8 |
| 10 | 8 | 10 | 15 |
| 5 | 10 | 15 | 20 |
| 3 | 15 | 23 | 25 |
图9
系统的计算结果均以UI展示,通过关卡蓝图可控制用户从UI切换到“三维世界”,由此可以实现磨矿分级工艺设计系统与后续磨矿车间设备配置虚拟现实系统的完美衔接。
系统开发完成后,需要在UE4编辑器独立的视口中对系统进行测试。测试过程中,蓝图连线可以准确、快捷地反映程序算法的问题所在,消息日志也可以准确地定位到错误位置,二者结合使用可纠正开发过程中出现的纰漏和错误。系统测试完成后,以Visual Studio 2019辅助,使用Unreal Editor进行编译打包,发布Windows版本供用户使用。
图10
图10
磨矿分级工艺流程计算测试结果
Fig.10
Test results of calculation for grinding-classification process
图11
图11
磨矿分级工艺设备选型测试结果
Fig.11
Test results of equipment selection for grinding-classification process
在进行球磨机选型计算时,用户输入现场数据后,计算得现厂磨机的单位小时通过量q0=1.11 t/(m3·h),系统设备库计算出不同型号球磨机的台数和负荷率,根据人工智能算法选择MQG2736格子型球磨机1台。根据给矿量和矿石密度等条件,选择2FG-20螺旋分级机1台,转速为3.2 r/min。
4 结语
(1)本文尝试采用虚拟现实技术处理矿物加工工程的设计问题。基于磨矿分级工艺设计的基本特点,采用基于虚拟现实技术的UE4平台,成功开发了桌面式磨矿分级工艺自主设计系统。同时,解决了将设计过程中经验公式、经验数据和人工智能算法转化为蓝图语言模型的技术方法等关键问题。
(2)系统可根据用户提供的设计原始数据,快速获得合理的磨矿分级工艺设计方案和结果,极大地提高了设计效率,缩短了设计周期,为后续基于虚拟现实技术的磨矿车间设备配置设计系统的开发创造了条件。
http://www.goldsci.ac.cn/article/2021/1005-2518/1005-2518-2021-29-1-120.shtml
参考文献
Study on intelligent CAD system for mineral processing technological equipment configuration
[J].
Study on the expert system of grinding process program selection
[J].
Development of non-coal mine fire contingency training system based on VR technology
[J].
Design expert system for coal preparation plant (CPDES)
[J].
Design of a virtual experience system on fire escape based on UE4 blueprint
[J].
Development of virtual instrument operation based on UE4
[J].
On virtual reality technology and its application in mining
[J].
Reflections on the teaching reform of Computer Aided Design in mineral processing major
[J].
UE4 and virtual campus interaction design
[J].
Application of virtual reality technology in ecological reconstruction scenery simulation system of open-pit mines
[J].
Development of grinding process design software package: Design principle and structure
[J].
Development of the softwares for flotation process designing
[J].
Preliminary study on design expert system of concentrator
[J].
Preliminary study on intelligent decision support system for process design of concentrator
[J].
The application status and development trend of virtual reality technology in industrial design
[J].
Application of UE4 Engine Technology in Architectural Visual Design
[D].
The application of three-dimensional design system in the design of concentrator
[J].
Virtual reality and its application in mining engineering
[J].
Overview of key technologies and applications of virtual reality
[J].:258
.
选矿工艺设备配置图智能CAD系统的研究
[J].
碎磨流程方案选择专家系统的研究
[J].
基于VR技术的非煤矿山火灾应急培训系统的开发
[J].
选煤厂设计专家系统(CPDES)
[J].
基于UE4蓝图的火灾逃生虚拟体验系统的设计与实现
[J].
基于UE4的虚拟仪器操作的开发
[J].
虚拟现实技术及其在矿业中的应用
[J].
矿物加工专业《计算机辅助设计》教学改革思考
[J].
UE4与虚拟校园交互设计
[J].
虚拟现实技术在露天矿生态重建仿真中的应用
[J].
磨矿工艺设计软件包的研制──设计原理及结构
[J].
浮选工艺流程设计软件的研制
[J].
选矿厂设计专家系统初探
[J].
选矿厂工艺设计智能决策支持系统初探
[J].
虚拟现实技术在工业设计中的应用现状与发展趋势
[J].
UE4引擎技术在建筑可视化设计中的应用研究
[D].
三维设计系统在选矿厂设计中的应用
[J].
虚拟现实技术及其在采矿工程中的应用
[J].
虚拟现实关键技术及应用综述
[J].:258
.
/
| 〈 |
|
〉 |


甘公网安备 62010202000672号