滥泥坪铜矿三维地应力测量及巷道布置优化研究
Three-dimensional In-situ Stress Measurement and Optimization of Roadway Layout in Lanniping Copper Mine
收稿日期: 2019-04-17 修回日期: 2019-07-28 网络出版日期: 2019-12-20
| 基金资助: |
|
Received: 2019-04-17 Revised: 2019-07-28 Online: 2019-12-20
关键词:
Keywords:
本文引用格式
谢也真, 曹平, 陈昊然.
XIE Yezhen, CAO Ping, CHEN Haoran.
近年来,矿山相继进入深部资源开采阶段[4,5,6]。根据经验进行深部开挖施工往往会造成各种岩体工程的失稳、坍塌或破坏,传统的经验类比法越来越失去其作用[7],地应力过高导致的地质灾害问题愈发严重[8,9,10]。对此国内外学者开展了大量地应力实测和理论研究[11,12,13]。澳大利亚联邦科学与工业研究院首先研发出了CSIRO型空心包体应力计[14]进行地应力测量,蔡美峰等[15]、李远等[16]在此基础上进行了一些技术改进和优化。戚玉亮等[17]采用改进的KX-81型空心包体应力计实测了车集矿区深部4个测点的三维地应力大小和方向。刘允芳等[18,19]详细推导了围压加载试验测定弹性常数的计算公式,并利用其试验成果对解除应变值进行修正,使地应力实测成果的可靠性更高。Zhou等[20]建立了在地应力、气压和开采深度影响下的气固耦合理论模型。孟庆彬等[21]和陈登红[22]在三维地应力实测的基础上对巷道的稳定性进行了分析。
尽管地应力测量技术在硬件和软件上都有一定的提升,但是很少有学者系统地研究整个测试过程和测试结果对巷道布置的指导作用。基于此,本文采用理论与实际相结合的方式,详细论述了空心包体应力解除法的理论依据和实际操作过程。采用YJZ-16型空心包体应力计对滥泥坪矿区深部2 350,2 138,1 900 m 3个中段进行地应力测试,根据最小二乘法的多元回归方程求得岩体应力的最优解,并结合该区域的地应力场分布特征对巷道布置方式进行优化研究,为滥泥坪复杂采空区群的三维数值稳定性分析提供初始应力数据,为深部巷道工程布置、采场结构参数调整和支护设计提供基础依据。
1 工程概况
滥泥坪铜矿区位于云南省昆明市东川区,大地构造位置处于杨子板块西缘,昆阳裂谷内会理—东川裂陷槽东端的一个梯形断陷盆地,矿区断裂十分发育,其中SN向和EW向断裂为主干断裂,其规模巨大,控制了矿区构造格局,使矿区呈断块状展布,NE向和NW向斜交断裂将矿区切成网状块体。滥泥坪铜矿已有上百年的开采历史,本部矿段共建有144个采场,其中有130个采场已经回采结束。白锡腊上老龙矿段主要为上老龙东十一中段和上老龙十三中段。据统计,该矿段共建有38个采场,其中有23个采场已经回采结束。矿区地质构造复杂,空区众多,为保障后续开采安全和实现矿山资源整合,必须对矿区深部构造应力场进行准确测量,并对地下巷道的布置方式进行优化。
2 空心包体地应力实测
2.1 测试仪器
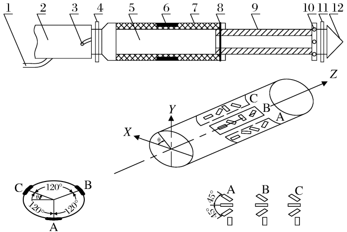
本次测量采用YJZ-16型智能数字应变仪,该仪器主要由空心包体探头、摄像头、安装杆、数据采集仪、围岩率定仪和应变分析仪等组成。空心包体探头由环氧树脂筒包裹,环氧树脂筒上分布着A、B、C 3组应变花,沿套筒相隔120°均匀分布;每组应变花上有4个应变片,相邻应变片之间的夹角为45°,空心包体应力计结构如图1所示。
图1
图1
空心包体应力计结构示意图
1-应变连接线;2-安装杆;3-连接销;4,11-封闭环;5-储胶腔,内装环氧树脂;6-应变花;7-环氧树脂筒;8-固定销;9-柱塞;10-出胶孔;12-导向头;A,B,C-应变片位置
Fig.1
Structure diagram of hollow inclusion cell
2.2 测点布置及测试过程
为了获得可靠的原岩应力测试结果,选择应力测量地点时应当遵循以下原则:
(1)测点布置区域应当避开正在施工的地点,避免施工对测试结果造成干扰,测点所在区域能提供水电等基本测试条件和充分的工作空间,保证试验正常进行。
(2)测点处的地应力应当具有一定的代表性,能够表征该区域地应力的一般水平,该处的岩体应当较为完整,不能位于褶皱和断层等地质构造带。
在工程地质调查的基础上,综合考虑滥泥坪矿区开拓基建工程施工现状和地应力测量现场钻进与测试作业可行性条件,确定在金沙滥泥坪矿的2 350,2 138,1 900 m中段60勘探线附近各选择1个测点,共布置3个测点,并在每个测孔进行3段地应力测试以减少试验误差。每个测点的详细情况见表1(滥泥坪用LNP表示)。
表1 滥泥坪铜矿地应力测点坐标及钻孔参数
Table 1
| 钻孔编号 | 钻孔仰角/(°) | 钻孔方位角/(°) | 钻孔孔口中心点坐标 | ||
|---|---|---|---|---|---|
| X | Y | Z | |||
| LNP-2350m-1# | 3 | 2 | 2 895 684.27 | 100 558.12 | 2 350.00 |
| LNP-2138m-2# | 3 | 350 | 2 895 766.38 | 100 346.73 | 2 138.00 |
| LNP-1900m-3# | 3 | 280 | 2 896 018.94 | 100 283.62 | 1 900.00 |
空心包体地应力测量过程如图2所示。具体流程为先钻取直径为130 mm的大孔,然后磨平大孔孔底后钻取直径为36 mm的小孔,并将空心包体探头安置于小孔内待24 h后进行应力解除测得岩芯的微应变,最终通过围压率定试验得到岩体力学参数,从而计算得出原岩应力值。
图2
图2
空心包体应力测量步骤图
(a)钻小孔;(b)钻大孔;(c)安装空心包体;(d)应力解除
Fig.2
Steps diagram of stress measurement procedure of hollow inclusion
3 测试结果及分析
3.1 测量原理
基于弹性力学理论,由于岩体中的岩石处于三向压缩状态,假定岩体为线弹性材料,当从岩体中取出岩石后,该石块与岩体间的联系解除,弹性恢复故而发生形变,测量过程中根据所测得的应变求得原岩应力。
3.2 地应力测量数据处理及分析
本文以滥泥坪2 350 m中段的第一次应力测试为例,分析该区域的应力状况。
图3为滥泥坪2 350 m中段的第一次岩芯应力解除曲线,该曲线记录了应力解除的全过程。由于解除岩芯的钻头还未到达大孔孔底,探头和岩壁接触处未发生应力扰动,所以曲线的起点处几乎没有起伏。随着进尺逐渐加深,小孔处的岩芯与岩体的联系遭到切断,发生应力解除,曲线发生剧烈变化。随着岩芯底部与岩体完全断裂,应力解除完成,应变也逐渐稳定。此外,该曲线中有2个通道数据一直为负,说明该处应变片一直处于压缩状态,与实际情况不符,应当予以剔除,最终得到的曲线可以用于计算,认为此次测试结果较为成功。
图3
图3
2 350 m中段应力解除曲线
Fig.3
Stress relief curve during the overcoring of measuring point in 2 350 m segment
将岩芯取出后,继续将该岩芯放入围压率定仪中做率定试验,从而得到岩体的弹性模量E和泊松比μ。图4为所得围压率定曲线,压力每增大2 MPa记录一次应变片的应变变化,并让观测数据保持稳定,防止数据异常突变对试验造成影响。受加压仪器的限制,本次试验所加的最大压力为6 MPa。测试结果表明,各组应变片中数据稳定,无漂移现象发生。
图4
图4
围压加载试验曲线
Fig.4
Test curves of confining pressure with average value of strains
根据测量原理,求得此次测量中岩体的弹性模量E和泊松比
按此方法,计算出所有测点的弹性参数,将9段岩体的弹性参数计算结果列于表2中,该计算结果为原岩应力计算提供了依据。
表2 滥泥坪矿区测点弹性参数计算结果
Table 2
| 测点编号 | 内外径比 | μ | E | ||||
|---|---|---|---|---|---|---|---|
| µ1 | µ2 | µ3 | E1 | E2 | E3 | ||
| LNP-2350m-1 | 37.65/130.34 | 0.23 | 0.26 | 0.31 | 54 067 | 55 734 | 59 431 |
LNP-2350m-2 LNP-2350m-3 | 37.62/130.37 | 0.18 | 0.24 | 0.20 | 57 698 | 53 423 | 56 430 |
| 37.69/130.32 | 0.21 | 0.25 | 0.33 | 59 581 | 57 645 | 60 136 | |
| 参数均值 | 37.65/130.34 | 0.25 | 57 127 | ||||
| LNP-2138m-1 | 37.56/130.13 | 0.21 | 0.16 | 0.14 | 16 852 | 18 741 | 20 067 |
| LNP-2138m-2 | 37.52/130.15 | 0.24 | 0.21 | 0.19 | 61 237 | 69 565 | 64 893 |
| LNP-2138m-3 | 37.59/130.17 | 0.41 | 0.45 | 0.41 | 60 308 | 59 867 | 65 217 |
| 参数均值 | 37.56/130.15 | 0.26 | 48 535 | ||||
| LNP-1900m-1 | 37.23/130.31 | 0.25 | 0.19 | 0.28 | 58 335 | 60 143 | 59 078 |
| LNP-1900m-2 | 37.25/130.32 | 0.24 | 0.25 | 0.31 | 57 023 | 59 873 | 60 342 |
| LNP-1900m-3 | 37.20/130.35 | 0.37 | 0.25 | 0.27 | 58 377 | 60 455 | 61 978 |
| 参数均值 | 37.23/130.33 | 0.27 | 59 511 | ||||
在同一测点进行3次重复测量,使用F检验剔除异常值再取平均值作为测试结果,测量数据处理方式和分析过程与上文一致,最终得到滥泥坪3个中段的应力测试结果如表3所示(测点编号中LNP表示滥泥坪)。
表3 各测点原岩应力测量结果
Table 3
| 测点编号 | 埋深/m | 最大主应力 | 中间主应力 | 最小主应力 | ||||||
|---|---|---|---|---|---|---|---|---|---|---|
| 大小/MPa | 方位/(°) | 倾角/(°) | 大小/MPa | 方位/(°) | 倾角/(°) | 大小/MPa | 方位/(°) | 倾角/(°) | ||
| LNP-2350-1# | 800 | 28.62 | 124.38 | -3.58 | 21.43 | 28.16 | -59.97 | 17.73 | 216.43 | -29.77 |
| LNP-2138-2# | 1 012 | 36.6 | 165.99 | 10.58 | 28.43 | 24.70 | 76.53 | 23.13 | 257.54 | 8.23 |
| LNP-1900-3# | 1 250 | 43.1 | 161.56 | -18.99 | 33.62 | -77.83 | -55.94 | 27.21 | 241.41 | 27.12 |
从表中数据可知,滥泥坪矿区的最大主应力σ1倾角较小,均小于20°,接近于水平方向,最小主应力σ3也不超过30°,说明矿区的原岩应力以水平应力为主,表现出水平构造应力占优的特征。3个中段的测试结果中最大主应力σ1在应力方向上表现出较好的一致性,由此推断该区域的最大主应力总体表现为NNW-SSE方向。此外,3个测点的主应力均表现为随埋深增大而增大的趋势。
4 地应力对深部回采巷道布置的影响
4.1 最优巷道布置方向分析
根据最大主应力理论,为避免巷道周围出现拉应力,巷道走向应平行于最大主应力方向,此时围岩变形量最小。但实际工程中发现,滥泥坪矿区的巷道走向大致平行于最大主应力方向却依然出现了巷道断面收缩现象。这是因为当巷道平行于最大主应力方向布置时,巷道帮部主要为最小主应力,此时由于垂直应力与巷道帮部的应力相差较大而导致围岩发生剪切破坏。因此,仅考虑最大主应力远远不够,巷道布置方式应当采取相应的优化措施。
参考最大剪应力理论,提出优化后的巷道布置理论:当巷道顶部的垂直应力与巷道帮部的垂直应力相差较大时,巷道布置时应符合等应力轴比(即巷道宽度/巷道高度=巷道帮部应力/巷道垂直应力),此时的巷道最为稳固。
如图5所示,由于滥泥坪铜矿的最大主应力和最小主应力都在水平方向,假设AC为巷道布置方向,巷道与最小主应力的夹角为α,由岩石力学分析可知,巷道帮部的垂直应力为
式中:σn为巷道水平方向的帮部应力;
图5
图5
巷道开挖水平断面应力分布图
Fig.5
Horizontal section distribution diagram of stress while drilling gateways
由于滥泥坪巷道的高径比约为1∶1,故当巷道帮部的水平应力与轴向应力相等时,巷道最为稳固,即:
联立式(1)、式(2)可得,巷道与最小主应力的夹角为
最后将2 350 m中段测得的数据代入式(3)中,求得巷道与水平方向最小主应力的夹角α=63.7°,故巷道与水平方向最大主应力的夹角β=90°-α=26.3°。
4.2 巷道优化布置检验
图6
表4 滥泥坪矿区各岩层岩石力学参数
Table 4
| 参数名称 | 陡山沱(白云岩) | 落雪一段(白云岩) | 落雪二段(白云岩) | 因民三段(白云岩) | 辉长岩(白云岩) | 矿体 | 断层 |
|---|---|---|---|---|---|---|---|
| 天然重度γ/(kN·m-3) | 28.1 | 27.9 | 28.0 | 27.9 | 29.1 | 28.6 | 23.0 |
| 岩体抗剪强度c/kPa | 875 | 1 712 | 1 936 | 17 94 | 1 794 | 1 336 | 120 |
| 内摩擦角φ/(°) | 31.98 | 33.12 | 35.19 | 33.22 | 32.9 | 27.1 | 20.3 |
| 泊松比 | 0.21 | 0.23 | 0.21 | 0.22 | 0.19 | 0.25 | 0.39 |
| 弹性模量/GPa | 3.2 | 4.7 | 5.4 | 4.7 | 3.8 | 3.4 | 0.07 |
| 抗压强度/MPa | 13.9 | 18.4 | 20.3 | 16.4 | 15.9 | 14.7 | 3.0 |
| 抗拉强度/MPa | 1.5 | 1.6 | 1.9 | 1.8 | 1.7 | 1.1 | 0.1 |
对比按最大主应力理论布置巷道和新型优化巷道布置模型(从左至右依次为平行于最大主应力布置以及与最大主应力呈β夹角布置的巷道),二者的区别如下:
图7
图7
不同走向巷道围岩的特征对比
Fig.7
Comparison of characteristics of surrounding rock of roadways with different strike
图7(c)为2种不同布置方式的位移对比图,2种布置方式均出现了冒顶和底鼓现象,未优化的巷道位移量为4~5 cm。优化后巷道位移量为1~2 cm,对巷道稳定性影响很小。
对比图7(d)中2种布置方式的塑性区分布情况可以发现,未优化的巷道帮部有约0.7 m深的塑性区范围,说明巷道两帮损坏较为严重,优化布置后的巷道塑性区明显减少,巷道帮部破坏区减少,巷道稳定性加强。
综合对比2种布置方式下巷道周围的应力、位移和塑性区分布图可以发现,优化布置后的巷道更为稳固,因此在实际工程中应当考虑巷道断面尺寸与应力分布状况来确定巷道的最优布置方式。
5 结论
采用应力解除法对滥泥坪矿区3个中段进行地应力现场测量。根据地应力测量结果,提出巷道布置优化方案并建立三维模型进行2种布置形式(最大剪应力和最大主应力)的巷道稳定性分析。通过现场地应力测试和巷道稳定性数值分析可得如下结论:
(1)滥泥坪矿区的最大主应力σ1倾角小于20°,为近水平方向;最小主应力σ3倾角小于30°,为近水平方向,因此矿区原岩应力以水平构造应力为主。最大主应力方向为NNW-SSE向。
(2)滥泥坪矿山2 350 m中段最大主应力为28.62 MPa,1 900 m中段最大主应力为43.1 MPa,该区域岩体的主应力随埋深的增大而增加。实测地应力值及规律对工程设计有重要的指导意义。
(3)基于最大剪应力和等应力轴比理论优化巷道布置方式,计算得出与最大主应力方向呈26.3°夹角方向为最佳巷道布置方式。2种巷道布置形式的数值模拟结果显示:最大剪应力巷道布置形式的巷道的集中应力、位移值和塑性区大小都明显较小,巷道的稳定性明显提高,证明最大剪应力巷道布置形式更优。
参考文献
地应力测量原理和技术
[M].
Rock Stress Measurement Principles and Techniques
[M].
In-situ stress measurements by hydraulic fracturing for a rock mass with many planes of weakness
[J].
深部开采岩体力学研究
[J].
Study on rock mechanics in deep mining engineering
[J].
深部岩体力学研究与探索
[J].
Research and development of rock mechanics in deep ground engineering
[J].
金属矿深部开采现状与发展战略
[J].
Current status and development strategy of metal mines
[J].
Inoculation and characters of rockbursts in extra-long and deep-lying tunnels located on Yarlung Zangbo suture
[J].
Study of 3D in-situ stress measurement and stability of roadways in depth
[J].
高应力下大型硬岩地下洞室群稳定性设计优化的裂化—抑制法及其应用
[J].
Cracking-restraint design method for large underground caverns with hard rock under high geostress condition and its practical application
[J].
高地应力深埋隧道断裂破碎带段大变形控制现场试验研究
[J].
Field test study on large deformation control measures of surrounding rock of deep tunnel in fault zone with high geostress
[J].
高地应力软岩隧道衬砌裂损重新施作段结构安全性分析
[J].
Structural safety analysis of reconstruction section of Lining cracking in high geo-stress soft rock tunnel
[J].
“深部岩体力学与开采理论”研究构想与预期成果展望
[J].
Research framework and anticipated results of deep rock mechanics and mining theory
[J].
山丹地应力监测站体应变仪的地震效应
[J].
Analysis of the volume strain data from the Shandan in-situ stress monitoring station
[J].
三山岛金矿采空区地应力测量及其结果分析
[J].
In-situ stress measuring and its result analysis in Sanshandao gold mine of China
[J].
Triaxial “Hollow Inclusion” Gauges for Determination of Rock Stresses in Situ
[J].
玲珑金矿深部地应力测量及矿区地应力场分布规律
[J].
In-situ stress measurement at deep position of Linglong gold mine and distribution law of in-situ stress field in mine area
[J].
基于双温度补偿的瞬接续采型空心包体地应力测试技术研究
[J].
Development of CSIRO cell with the compromised application of instantaneous data-logging,no-power data-connection and twin temperature compensation techniques
[J].
车集矿深部三维初始地应力测量研究
[J].
3D initial ground stress measurement at deep position of Juji Mine
[J].
空心包体式钻孔三向应变计地应力测量的研究
[J].
Research on hollow inclusion strain gauge for geostress measurement
[J].
围压试验在空心包体式应变计地应力测量中的作用
[J].
Function of confining pressure test on Hollow inclusion Triaxial strain gauge for geostress measurement
[J].
Gas-solid coupling laws for deep high-gas coal seams
[J].
基于地应力实测的深部软岩巷道稳定性研究
[J].
Research on deep soft roadway stability based on in-site geo-stress measurement
[J].
/
| 〈 |
|
〉 |


甘公网安备 62010202000672号