基于模糊故障树和蒙特卡洛方法的智能铲运系统可靠性分析 |
| 刘志祥,王凯,杨小聪,万串串,周玉成 |
|
Reliability Analysis of Intelligent Shoveling System Based on Fuzzy Fault Tree and Monte Carlo Method |
| Zhixiang LIU,Kai WANG,Xiaocong YANG,Chuanchuan WAN,Yucheng ZHOU |
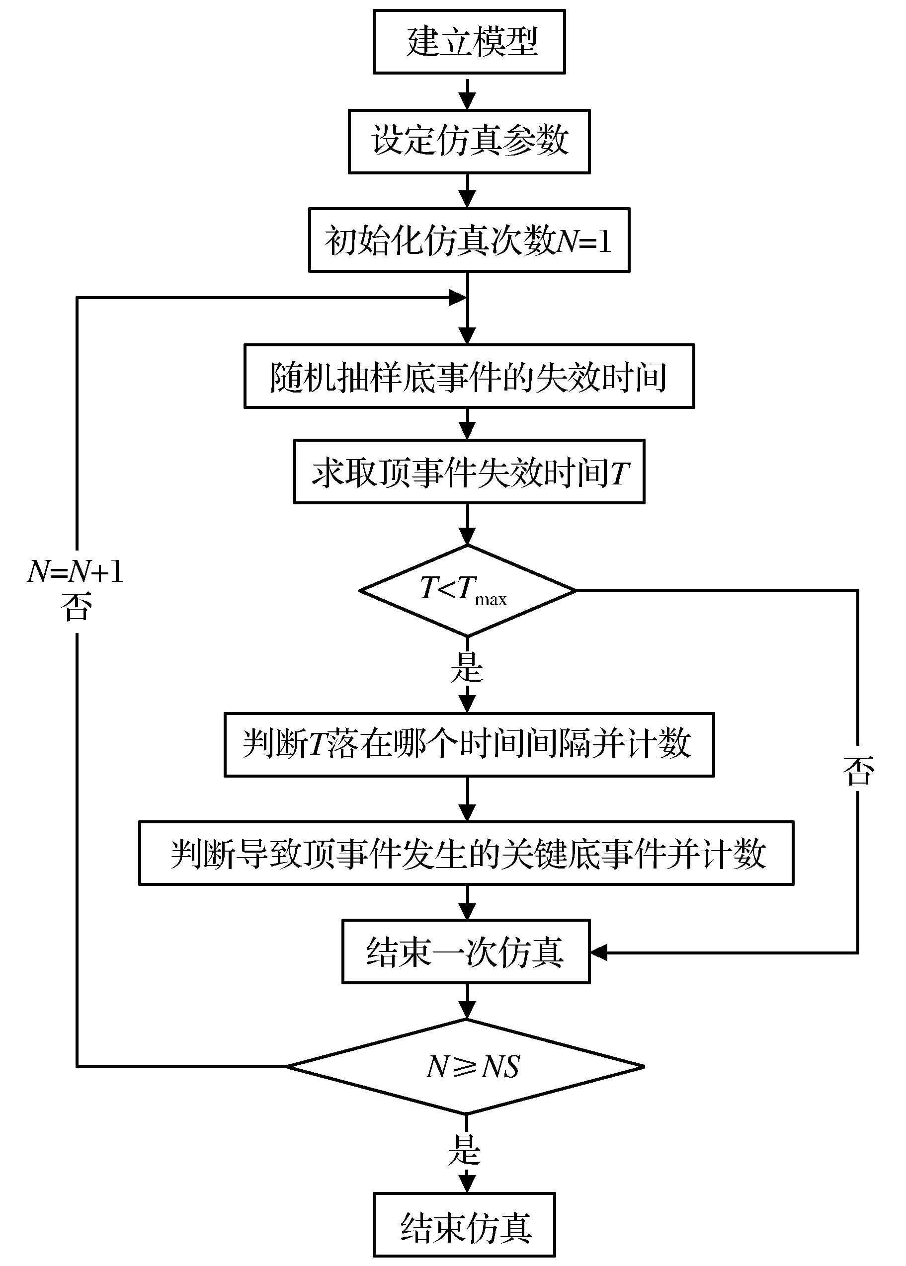
| 图4 仿真流程图 |
| Fig.4 Simulation flow chart |
|