基于图像识别的井下机车载矿量计量系统 |
| 张钰鹏,吴富姬,郭毅 |
|
Mine-Loading Measurement System of Underground Locomotive Based on Image Recognition |
| Yupeng ZHANG,Fuji WU,Yi GUO |
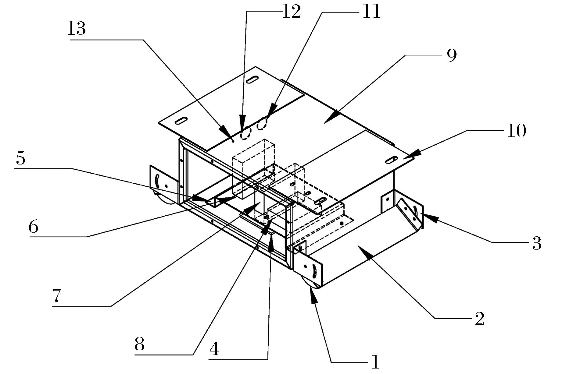
| 图2 相机集成装置 1-补偿灯;2-灯架;3-灯板;4-透明板;5-支撑板;6-开关电源;7-深度相机;8-光纤收发器;9-箱体;10-支架;11-电源接口;12-网线接口;13-光纤转换接口 |
| Fig.2 Camera integration device |
|