空气间隔装药爆破模型在矿房回采中的应用
梁瑞,俞瑞利,周文海,黄小彬,王建勇,熊征宇

Application of Air Interval Charge Blasting Model in Mining Room
Rui LIANG,Ruili YU,Wenhai ZHOU,Xiaobin HUANG,Jianyong WANG,Zhengyu XIONG
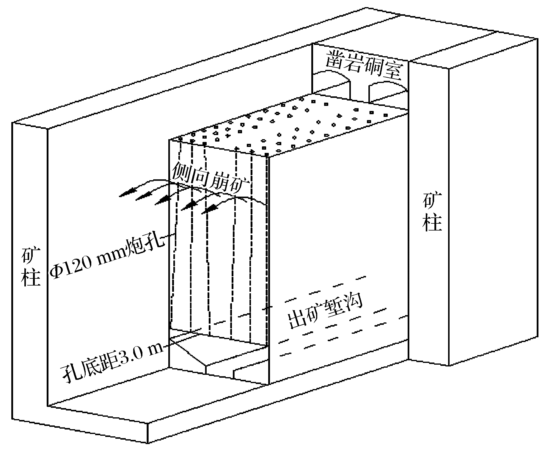
图4 采矿工艺示意图
Fig.4 Schematic of mining technology